CL 500 (140.070) V8-5.0L (119.980) (1999)
Fuel Filter: Description and Operation
Fuel Filter, Position/Task/Design/Function
Fuel Filter, Position/Task/Design/Function
ENGINE 104 (except 104.98) in MODEL 124, 129, 140, 202, 210
ENGINE 111 in MODEL 124, 170, 202, 210
ENGINE 111.945 in MODEL 208.335 up to 31.5.98
ENGINE 119 (except 119.96) in MODEL 124, 129, 140, 210
ENGINE 120 in MODEL 129, 140
Design
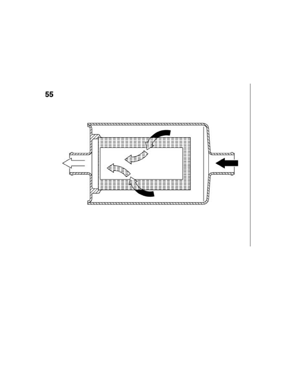
55
Fuel filter
Position
Frame floor ahead of rear suspension in fuel pump assembly
T-models: frame floor on left ahead of rear suspension, suspended separately on rubber rings
Task
Filtering impurities out of the fuel.
Function
The filter consists of a housing with integrated filter element. The fuel flows through this filter from the outside to the inside and impurities are trapped.
Note: Replace fuel filter as specified in Maintenance Manual.
