mercedesbenz Workshop Repair Guides

Mercedes Benz Workshop Service and Repair Manuals

Fuel Filter|Description and Operation > < Maintenance - Factory Approved Service Products|Page 3878
Page 1
background image

Fuel Filter: Locations

Fuel Filter, Position/Task/Design/Function

ENGINE   104 (except 104.98) in MODEL 124, 129, 140, 202, 210
ENGINE   111 in MODEL 124, 170, 202, 210
ENGINE   111.945 in MODEL 208.335 up to 31.5.98
ENGINE   119 (except 119.96) in MODEL 124, 129, 140, 210
ENGINE   120 in MODEL 129, 140
 
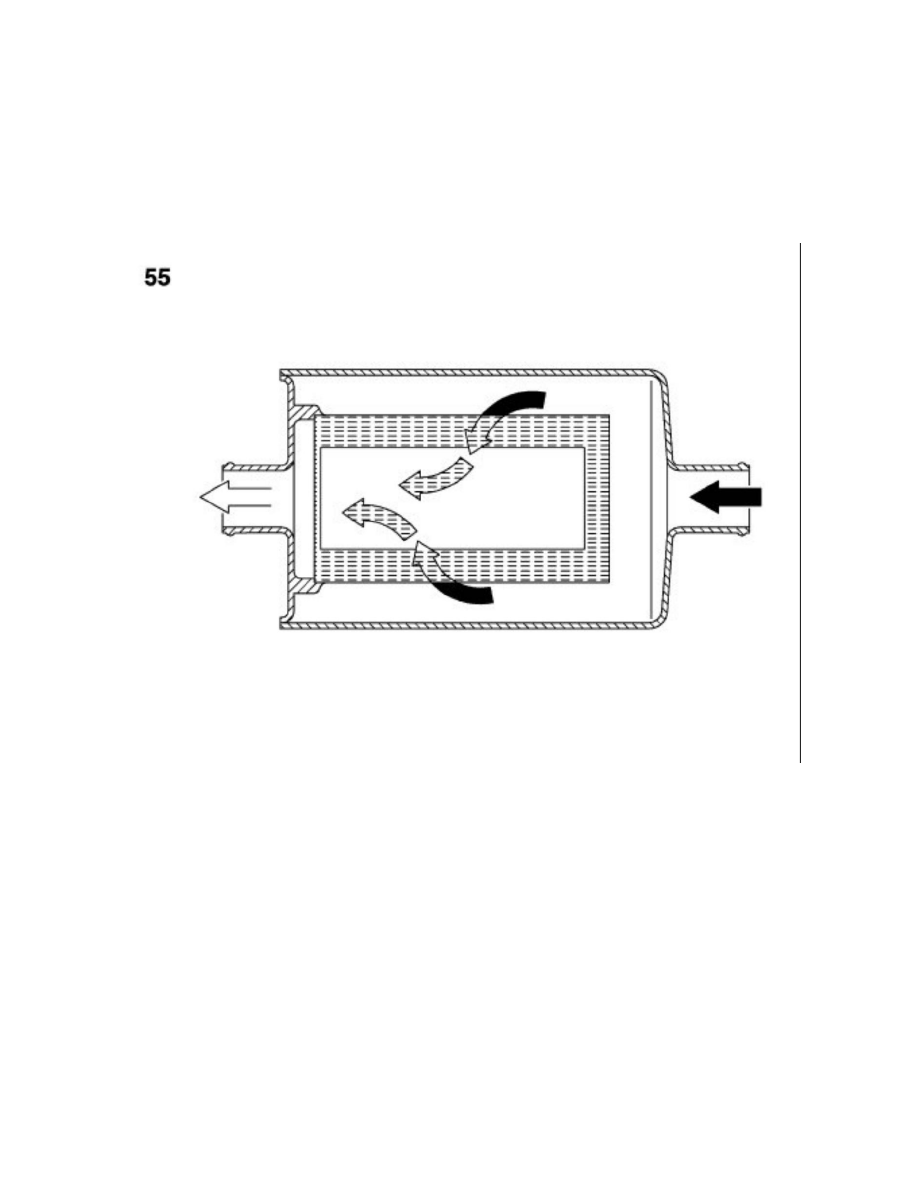
Design

55 

Fuel filter

 
Position

Frame floor ahead of rear suspension in fuel pump assembly
T-models: frame floor on left ahead of rear suspension, suspended separately on rubber rings 

Task

Filtering impurities out of the fuel.

Function 
The filter consists of a housing with integrated filter element. The fuel flows through this filter from the outside to the inside and impurities are trapped.

Note:  Replace fuel filter as specified in Maintenance Manual.

Fuel Filter|Description and Operation > < Maintenance - Factory Approved Service Products|Page 3878