mercedesbenz Workshop Repair Guides

Mercedes Benz Workshop Service and Repair Manuals

Fuel Pressure Sensor/Switch > < Hot Film Mass Air Flow Sensor, Location|Page 4021
Page 1
background image

Air Flow Meter/Sensor: Description and Operation
Hot Film Mass Air Flow Sensor, Function

Hot Film Mass Air Flow Sensor, Function

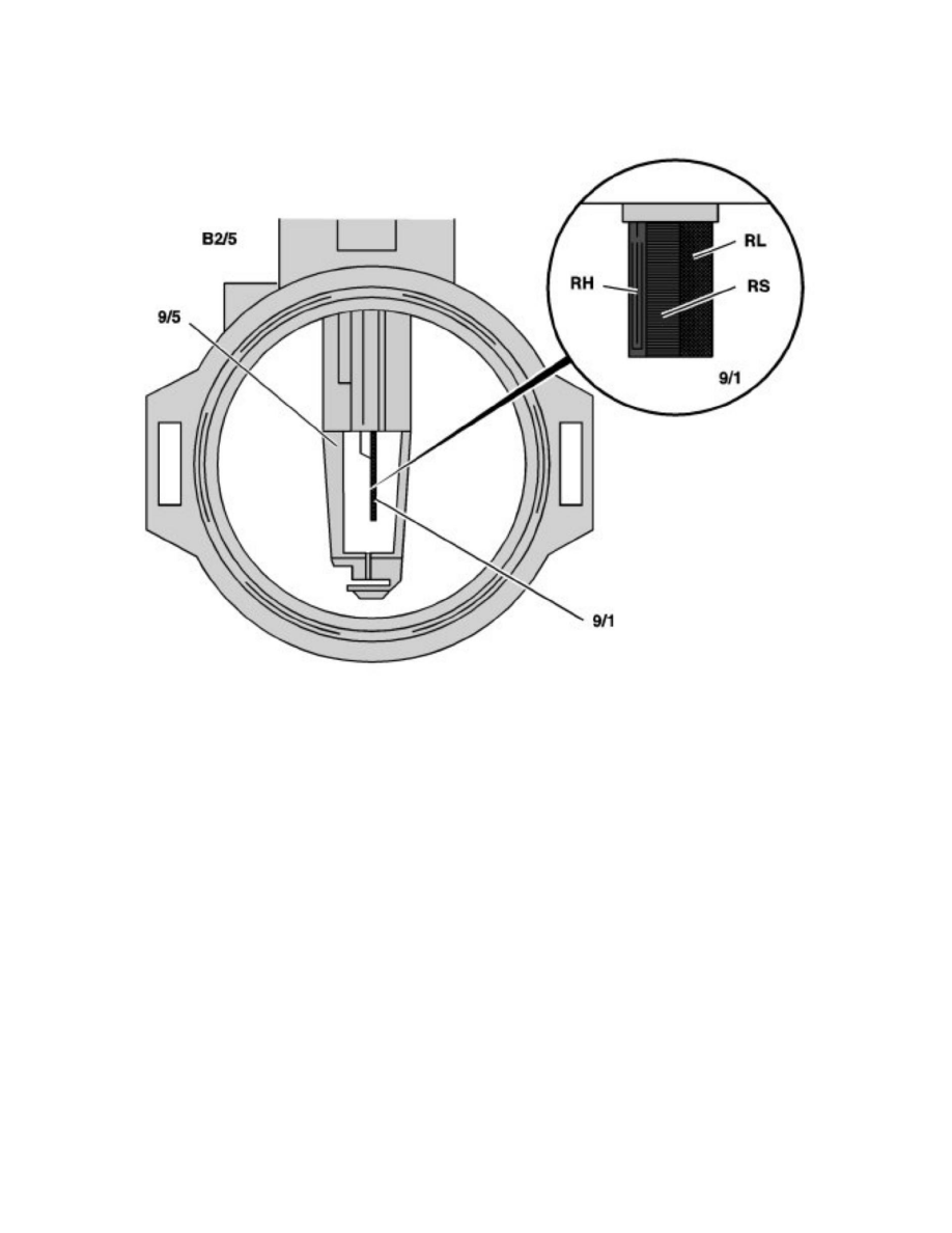
9/1 

Hot film sensor 

9/5 

Electronics housing 

B2/5 

Hot film MAF sensor

RH 

Heating resistor 

RL 

Temperature resistance 

RS 

Sensor resistance

The elecronics in the hot film mass air flow sensor controls the temperature of the heating resistor (RH) by means of a variable voltage so that its
temperature is 160°C above the intake air temperature detected by the temperature resistor (RL). The temperature of the heating resistor (RH) is detected
by the sensor resistor (RS). If a change in temperature occurs because of an increase or reduction in the air flow, the electronics (9/5) adjusts the voltage
of the heating resistor (RH) until the temperature difference is again achieved. This control voltage is used by the engine control unit as a measure for the
metered air mass. 

Fuel Pressure Sensor/Switch > < Hot Film Mass Air Flow Sensor, Location|Page 4021