CL 500 (140.070) V8-5.0L (119.980) (1999)
Air Flow Meter/Sensor: Description and Operation
Hot Film Mass Air Flow Sensor, Function
Hot Film Mass Air Flow Sensor, Function
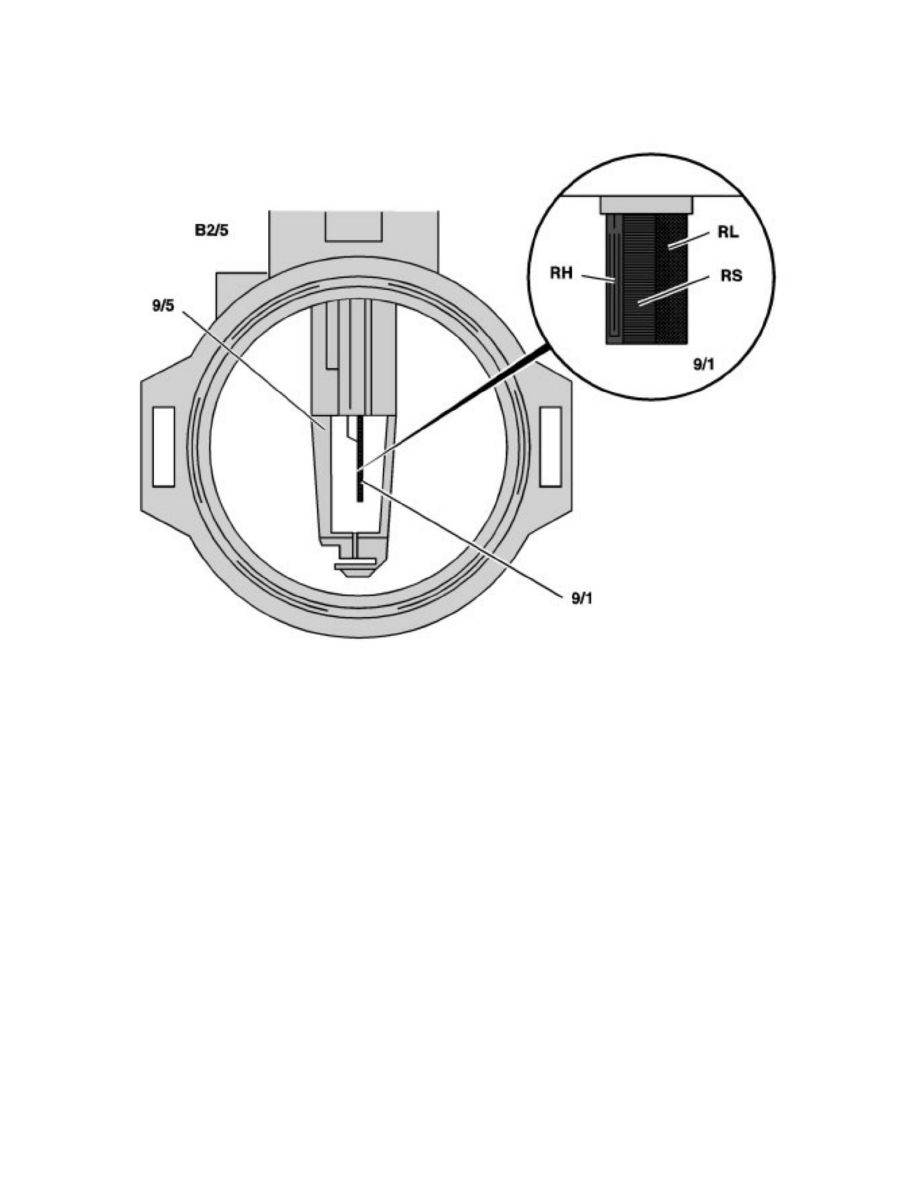
9/1
Hot film sensor
9/5
Electronics housing
B2/5
Hot film MAF sensor
RH
Heating resistor
RL
Temperature resistance
RS
Sensor resistance
The elecronics in the hot film mass air flow sensor controls the temperature of the heating resistor (RH) by means of a variable voltage so that its
temperature is 160°C above the intake air temperature detected by the temperature resistor (RL). The temperature of the heating resistor (RH) is detected
by the sensor resistor (RS). If a change in temperature occurs because of an increase or reduction in the air flow, the electronics (9/5) adjusts the voltage
of the heating resistor (RH) until the temperature difference is again achieved. This control voltage is used by the engine control unit as a measure for the
metered air mass.
