CL 500 (140.070) V8-5.0L (119.980) (1999)
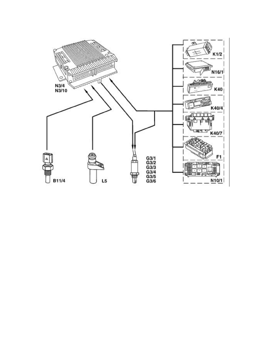
Oxygen Sensor: Description and Operation
O2-Sondenheizung Function
O2-Sondenheizung Function
Shown on Engine 119
B11/4
Coolant temperature sensor
F1
Fuse and relay module Model 163
G3/1
O2 sensor downstream of TWC Engine 111, 104 (USA) and EURO3/4
G3/2
O2 sensor upstream of TWC Engine 111, 104
G3/3
Left O2 sensor upstream of TWC Engine 112, 113, 119, 120
G3/4
Right O2 sensor upstream of TWC Engine 112, 113, 119, 120
G3/5
Left O2 sensor downstream of TWC Engine 112, 113, 119, 120 (USA) and EURO3/4
G3/6
Right O2 sensor downstream of TWC Engine 112, 113, 119, 120 (USA) and EURO3/4
K1/2
Overvoltage protection relay Model 124, 202 up to 7/96
K40
Relay module model 170, 210 up to 2/97
K40/4
Fuse and relay module Model 202 as of 8/96, 210 as of 3/97
K40/7
Right fuse and relay module Model 215, 220 (K40/4 in Model 230)
L5
Crankshaft position sensor
N3/4
HFM-SFI [HFM] control unit
N3/10
ME-SFI control unit
N10/1
Front SAM control unit with fuse and relay module Model 203
N16/1
Base module, model 129, 140
