mercedesbenz Workshop Repair Guides

Mercedes Benz Workshop Service and Repair Manuals

Pressure Sensor, Location|Page 851 > < Pressure Sensor, Location|Page 849
Page 1
background image

Absolute Pressure Sensor: Description and Operation
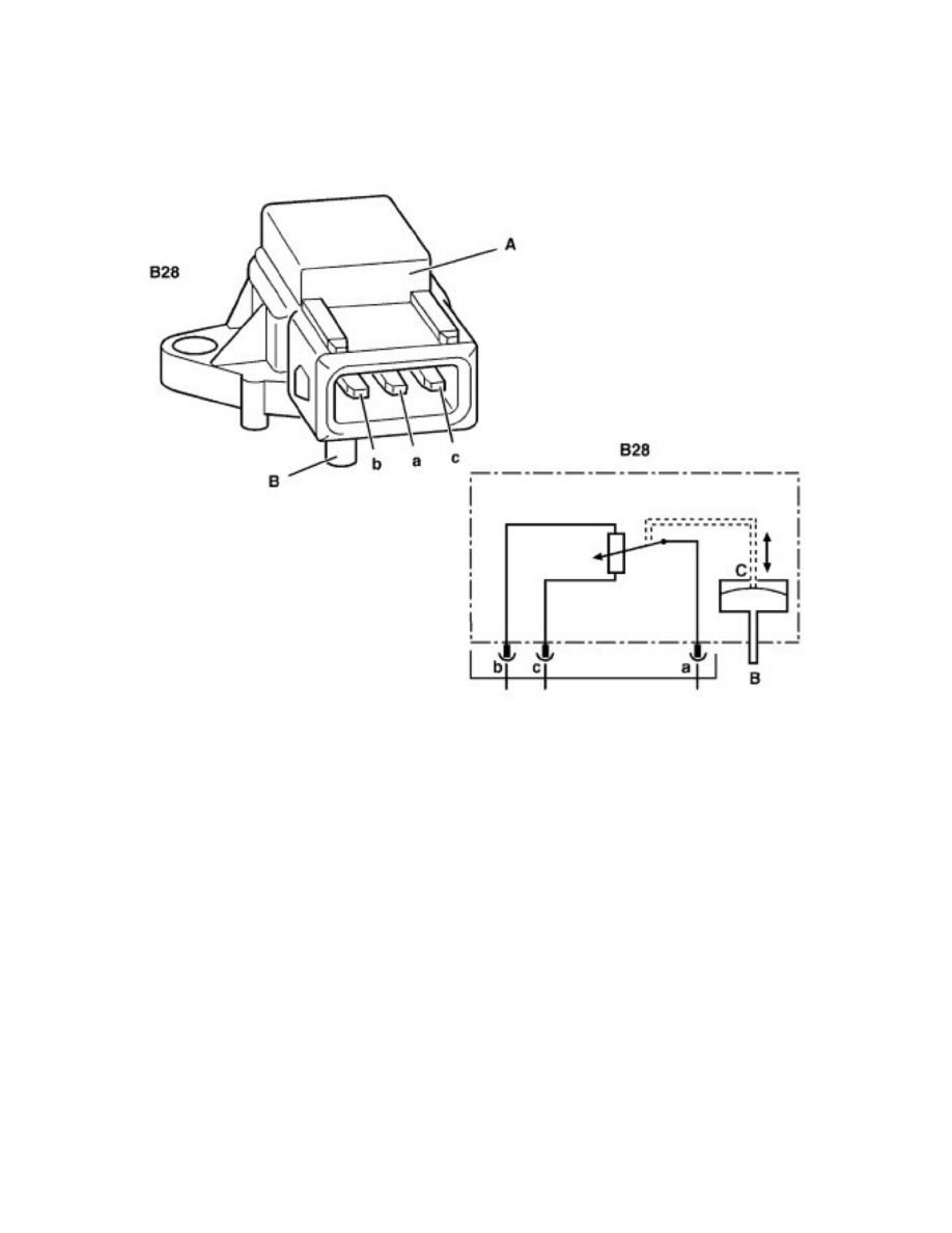
Pressure Sensor, Design

Pressure Sensor, Design

Design

B28 

Pressure sensor 

Housing 

Pressure fitting 

Diaphragm 

a, b, c 

Electrical connections

Pressure Sensor, Location|Page 851 > < Pressure Sensor, Location|Page 849