mercedesbenz Workshop Repair Guides

Mercedes Benz Workshop Service and Repair Manuals

Electronic Accelerator, Location/Design/Function|Page 4217 > < Pressure Sensor, Location|Page 4212
Page 1
background image

Accelerator Pedal Position Sensor: Locations
Electronic Accelerator, Location/Design/Function

Electronic Accelerator, Location/Design/Function

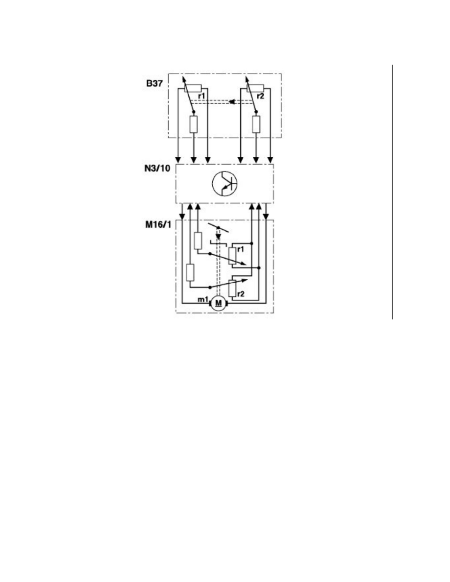
B37 

Accelerator pedal sensor

R1 

Set value potentiometer 1 (or Hall sensor 1) 

r2 

Set value potentiometer 2 (or Hall sensor 2) 

M16/1 

EA/CC/ISC [EFP/TPM/LLR] actuator (other designation: 

M16/6 

throttle valve actuator)

M1 

Actuator motor

r1 

Actual value potentiometer 1

r2 

Actual value potentiometer 2 

N3/10 

ME-SFI control unit

The function of the electronic accelerator pedal EFP in the ME control unit determines the opening angle of the throttle valve over the actuator
EFP/TPM/LLR (other designation: throttle valve actuator). 

Further functions are: 
- Idle speed control [ISC] 
- Cruise control mode 
- Variable speed limiter 
- 30 km/hour limit 
- Reduce/increase the engine torque for ASR/ESP operation 
- short performance limitation, for example for a higher coolant temperature 
- Emergency electronic accelerator pedal 
- Safety concept 
- Actuate indicator lamp EPC (up to 5/96) 
- Storing faults 
- Data exchanger via CAN 

The opening angle of the throttle valve will only be determined by the accelerator pedal specification when no limiting functions are active.   

Electronic Accelerator, Location/Design/Function|Page 4217 > < Pressure Sensor, Location|Page 4212