SLK 230 (170.449) L4-2.3L SC (111.983) (2001)
/l4-2.3l_sc_(111.983)/Page-218001.png)
Accelerator Pedal Position Sensor: Description and Operation
Electronic Accelerator, Location/Design/Function
Electronic Accelerator, Location/Design/Function
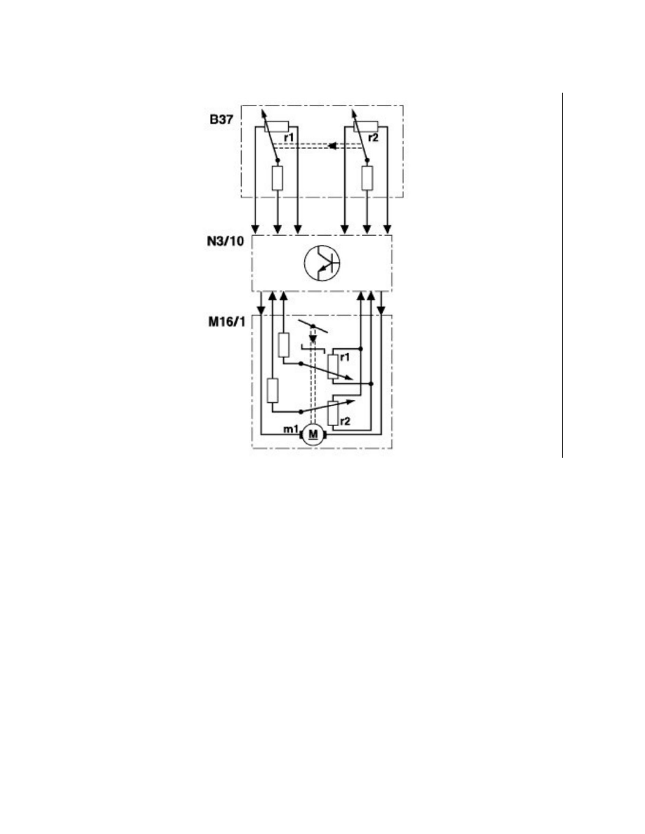
B37
Accelerator pedal sensor
R1
Set value potentiometer 1 (or Hall sensor 1)
r2
Set value potentiometer 2 (or Hall sensor 2)
M16/1
EA/CC/ISC [EFP/TPM/LLR] actuator (other designation:
M16/6
throttle valve actuator)
M1
Actuator motor
r1
Actual value potentiometer 1
r2
Actual value potentiometer 2
N3/10
ME-SFI control unit
The function of the electronic accelerator pedal EFP in the ME control unit determines the opening angle of the throttle valve over the actuator
EFP/TPM/LLR (other designation: throttle valve actuator).
Further functions are:
- Idle speed control [ISC]
- Cruise control mode
- Variable speed limiter
- 30 km/hour limit
- Reduce/increase the engine torque for ASR/ESP operation
- short performance limitation, for example for a higher coolant temperature
- Emergency electronic accelerator pedal
- Safety concept
- Actuate indicator lamp EPC (up to 5/96)
- Storing faults
- Data exchanger via CAN
The opening angle of the throttle valve will only be determined by the accelerator pedal specification when no limiting functions are active.