mercury Workshop Repair Guides

Mercury Workshop Service and Repair Manuals

Diagram Information and Instructions|Page 5092 > < Diagram Information and Instructions|Page 5090
Page 6
background image

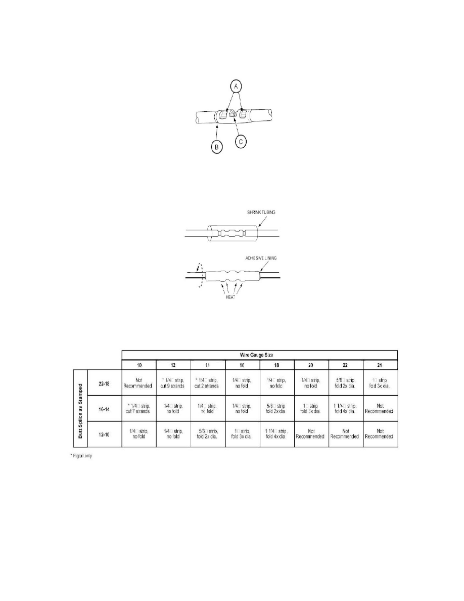
6. Center one end of the wire splice in the appropriate crimping chamber.
7. If visible, be sure to place the brazed seam toward the indenter.
8. Insert stripped wire into the barrel.
9. Holding the wire in place, barrel squeeze tool handles appropriate ratchet releases.

10. Repeating steps 5-7, crimp the other half of the splice.

11. Check for acceptable crimp.

a. Crimp should be centered on each end of the butt splice
b. Wire insulation does not enter butt splice.
c. Wire is visible through inspection hole of splices.

12. Evenly position supplied heat shrink tubing over wire repair.
13. Use shielded heat gun to heat the repaired area until adhesive flows out of both ends of the heat shrink tubing.
14. Reconnect battery ground cable.

Diagram Information and Instructions|Page 5092 > < Diagram Information and Instructions|Page 5090