Mini Workshop Service and Repair Manuals
HOME
FEATURES
MENU
INDEX
ABOUT US
Diagram Information and Instructions|Page 1903 >
< Diagram Information and Instructions|Page 1901
Cooper Convertible (R57) L4-1.6L (N12) (2009)
Maintenance
Fuses and Circuit Breakers / Fuse / Component Information
Diagrams / Diagram Information and Instructions
Page 1902
Page 46
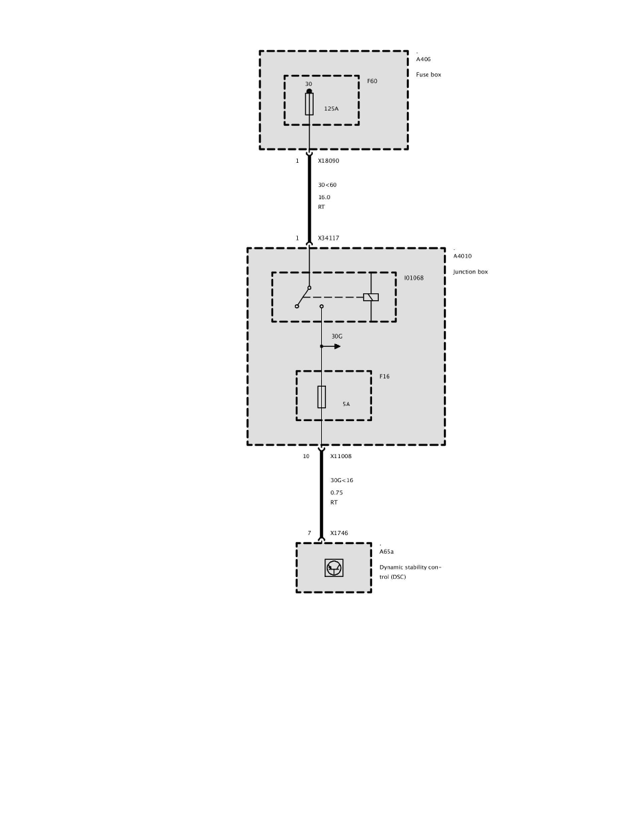
Fuse F16 (Convertible)
Fuse F16 (Convertible)
Maintenance
Fuses and Circuit Breakers / Fuse / Component Information
Diagrams / Diagram Information and Instructions
Page 1902
Diagram Information and Instructions|Page 1903 >
< Diagram Information and Instructions|Page 1901