Mini Workshop Service and Repair Manuals
HOME
FEATURES
MENU
INDEX
ABOUT US
Diagram Information and Instructions|Page 5743 >
< Diagram Information and Instructions|Page 5741
Cooper Convertible (R57) L4-1.6L (N12) (2009)
Power and Ground Distribution
Fuse / Component Information
Diagrams / Diagram Information and Instructions
Page 5742
Page 43
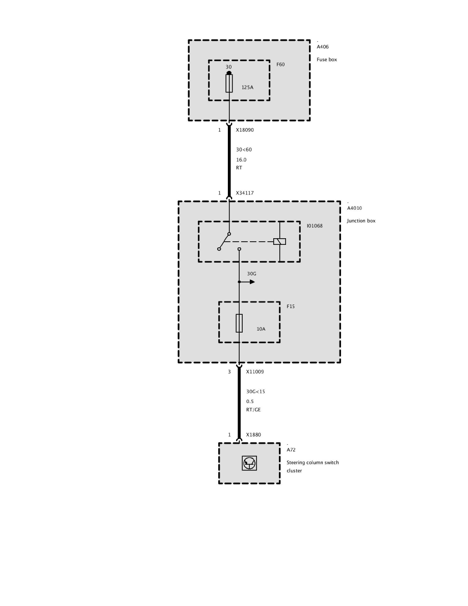
Fuse F15 (As of 12/08)
Fuse F15 (As of 12/08)
Power and Ground Distribution
Fuse / Component Information
Diagrams / Diagram Information and Instructions
Page 5742
Diagram Information and Instructions|Page 5743 >
< Diagram Information and Instructions|Page 5741