Mini Workshop Service and Repair Manuals
HOME
FEATURES
MENU
INDEX
ABOUT US
Diagram Information and Instructions|Page 5854 >
< Diagram Information and Instructions|Page 5852
Cooper Convertible (R57) L4-1.6L (N12) (2009)
Power and Ground Distribution
Fuse / Component Information
Diagrams / Diagram Information and Instructions
Page 5853
Page 154
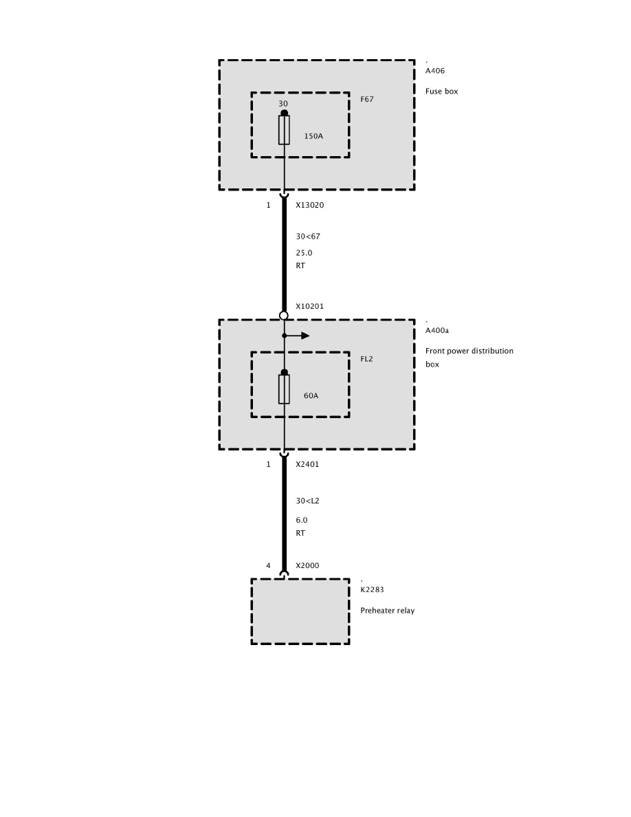
FL4
Fuse FL4
Power and Ground Distribution
Fuse / Component Information
Diagrams / Diagram Information and Instructions
Page 5853
Diagram Information and Instructions|Page 5854 >
< Diagram Information and Instructions|Page 5852