Mini Workshop Service and Repair Manuals
HOME
FEATURES
MENU
INDEX
ABOUT US
Diagram Information and Instructions|Page 5860 >
< Diagram Information and Instructions|Page 5858
Cooper Convertible (R57) L4-1.6L (N12) (2009)
Power and Ground Distribution
Fuse / Component Information
Diagrams / Diagram Information and Instructions
Page 5859
Page 160
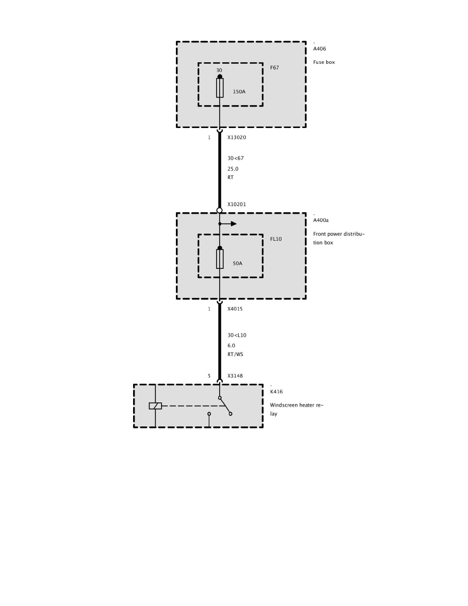
FL12
Fuse FL12
Power and Ground Distribution
Fuse / Component Information
Diagrams / Diagram Information and Instructions
Page 5859
Diagram Information and Instructions|Page 5860 >
< Diagram Information and Instructions|Page 5858