Mini Workshop Service and Repair Manuals
HOME
FEATURES
MENU
INDEX
ABOUT US
Diagram Information and Instructions|Page 2263 >
< Diagram Information and Instructions|Page 2261
Cooper JCW Clubman (R55) L4-1.6L Turbo (N14) (2009)
Maintenance
Fuses and Circuit Breakers / Fuse / Component Information
Diagrams / Diagram Information and Instructions
Page 2262
Page 2
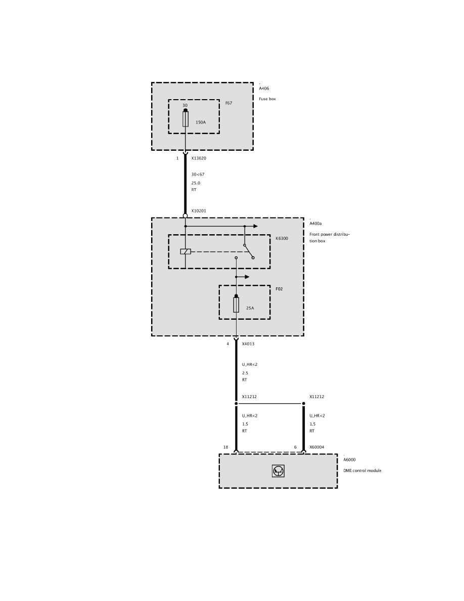
F02
Fuse F02 (Petrol Engine)
F03
Maintenance
Fuses and Circuit Breakers / Fuse / Component Information
Diagrams / Diagram Information and Instructions
Page 2262
Diagram Information and Instructions|Page 2263 >
< Diagram Information and Instructions|Page 2261