mini Workshop Repair Guides

Mini Workshop Service and Repair Manuals

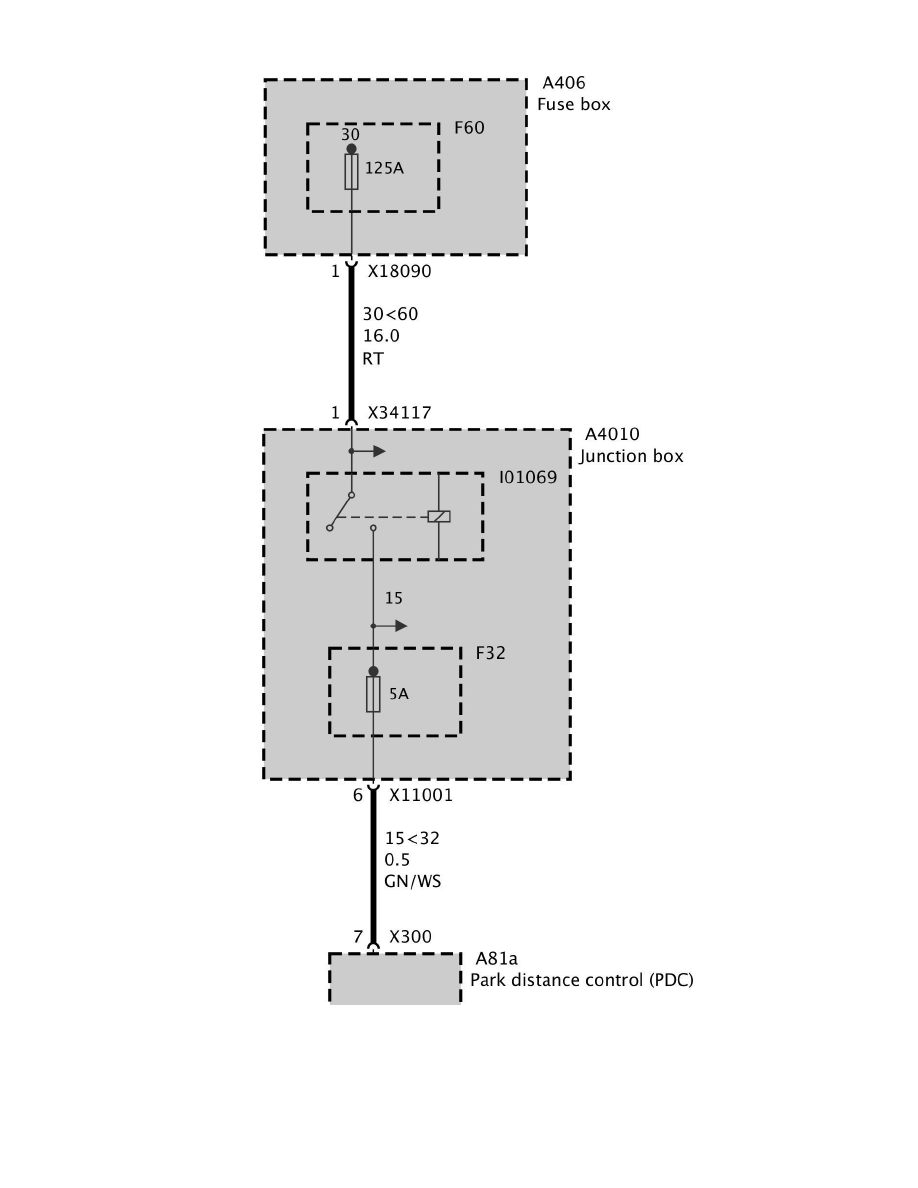
Diagram Information and Instructions|Page 2359 > < Diagram Information and Instructions|Page 2357
Page 98
background image

Fuse F33 (ABS/ASC/DSC Dynamic Stability Control Up to 12/08)

Fuse F33 (ABS/ASC/DSC Dynamic Stability Control Up to 12/08)

Diagram Information and Instructions|Page 2359 > < Diagram Information and Instructions|Page 2357