Mini Workshop Service and Repair Manuals
HOME
FEATURES
MENU
INDEX
ABOUT US
Diagram Information and Instructions|Page 2387 >
< Diagram Information and Instructions|Page 2385
Cooper JCW Clubman (R55) L4-1.6L Turbo (N14) (2009)
Maintenance
Fuses and Circuit Breakers / Fuse / Component Information
Diagrams / Diagram Information and Instructions
Page 2386
Page 126
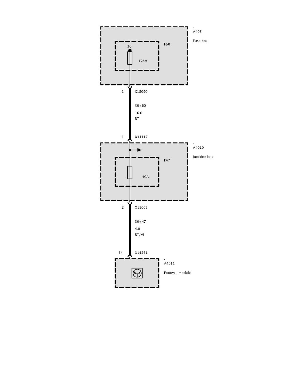
Fuse F47 (As of 12/08)
Fuse F47 (As of 12/08)
Maintenance
Fuses and Circuit Breakers / Fuse / Component Information
Diagrams / Diagram Information and Instructions
Page 2386
Diagram Information and Instructions|Page 2387 >
< Diagram Information and Instructions|Page 2385