Mini Workshop Service and Repair Manuals
HOME
FEATURES
MENU
INDEX
ABOUT US
Diagram Information and Instructions|Page 6808 >
< Diagram Information and Instructions|Page 6806
Cooper JCW Clubman (R55) L4-1.6L Turbo (N14) (2009)
Power and Ground Distribution
Fuse / Component Information
Diagrams / Diagram Information and Instructions
Page 6807
Page 17
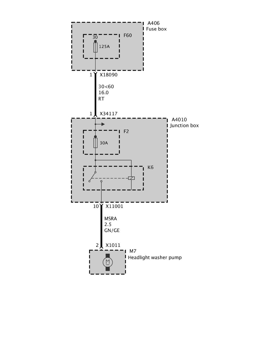
Fuse F3 (Up to 12/08)
Fuse F3 (Up to 12/08)
Power and Ground Distribution
Fuse / Component Information
Diagrams / Diagram Information and Instructions
Page 6807
Diagram Information and Instructions|Page 6808 >
< Diagram Information and Instructions|Page 6806