Mini Workshop Service and Repair Manuals
HOME
FEATURES
MENU
INDEX
ABOUT US
Diagram Information and Instructions|Page 6952 >
< Diagram Information and Instructions|Page 6950
Cooper JCW Clubman (R55) L4-1.6L Turbo (N14) (2009)
Power and Ground Distribution
Fuse / Component Information
Diagrams / Diagram Information and Instructions
Page 6951
Page 161
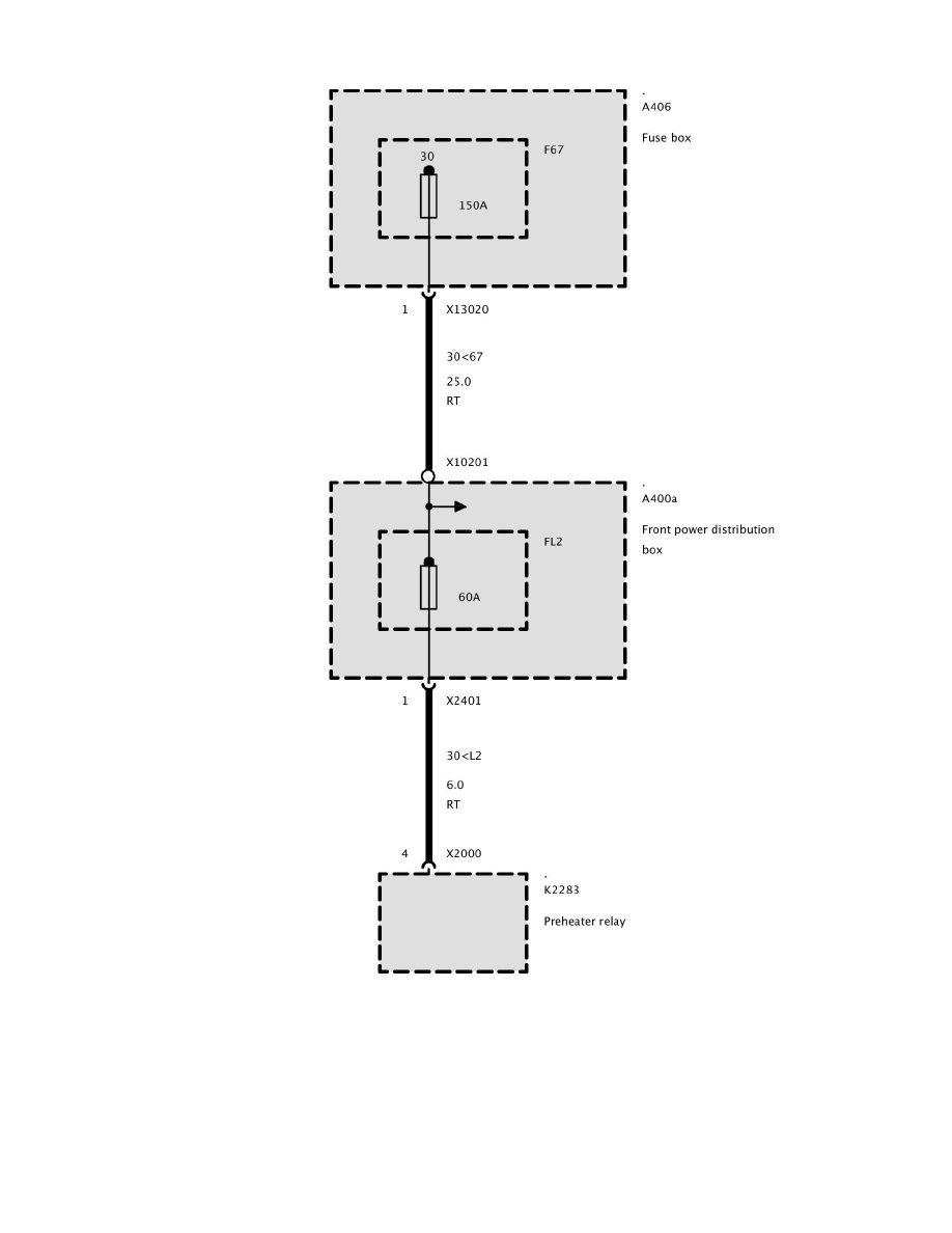
FL4
Fuse FL4
Power and Ground Distribution
Fuse / Component Information
Diagrams / Diagram Information and Instructions
Page 6951
Diagram Information and Instructions|Page 6952 >
< Diagram Information and Instructions|Page 6950