Mini Workshop Service and Repair Manuals
HOME
FEATURES
MENU
INDEX
ABOUT US
Fuse Block >
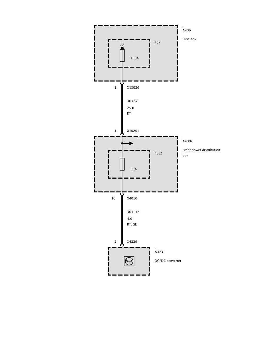
< Diagram Information and Instructions|Page 6957
Cooper JCW Clubman (R55) L4-1.6L Turbo (N14) (2009)
Power and Ground Distribution
Fuse / Component Information
Diagrams / Diagram Information and Instructions
Page 6958
Page 168
Power and Ground Distribution
Fuse / Component Information
Diagrams / Diagram Information and Instructions
Page 6958
Fuse Block >
< Diagram Information and Instructions|Page 6957