Mini Workshop Service and Repair Manuals
HOME
FEATURES
MENU
INDEX
ABOUT US
Diagram Information and Instructions|Page 9210 >
< Diagram Information and Instructions|Page 9208
Cooper S Clubman (R55) L4-1.6L Turbo (N14) (2008)
Power and Ground Distribution
Fuse / Component Information
Diagrams / Diagram Information and Instructions
Page 9209
Page 112
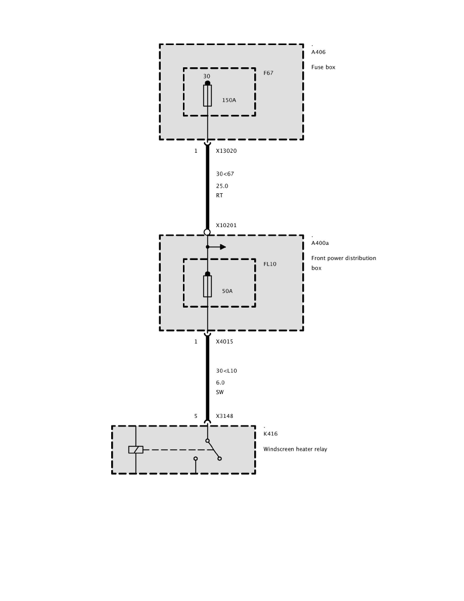
Fuse FL10 (As of 03/08)
Fuse FL10 (As of 03/08)
Power and Ground Distribution
Fuse / Component Information
Diagrams / Diagram Information and Instructions
Page 9209
Diagram Information and Instructions|Page 9210 >
< Diagram Information and Instructions|Page 9208