mini Workshop Repair Guides

Mini Workshop Service and Repair Manuals

Diagram Information and Instructions|Page 10388 > < Diagram Information and Instructions|Page 10386
Page 1
background image

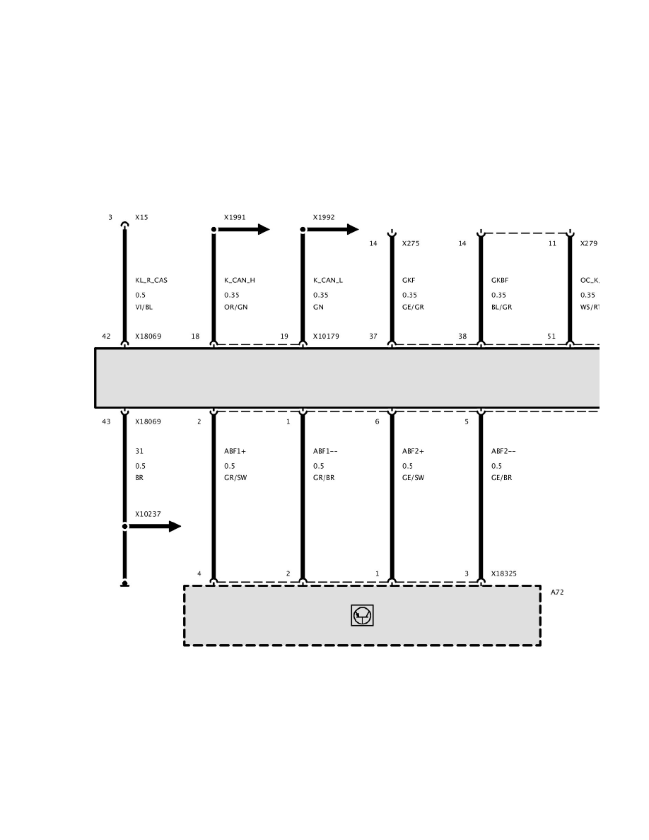
Air Bag Control Module: Electrical Diagrams

A12 Multiple Restraint System Control Unit (USA_LHD Up to 03/09)

Part 1

Diagram Information and Instructions|Page 10388 > < Diagram Information and Instructions|Page 10386