Mini Workshop Service and Repair Manuals
HOME
FEATURES
MENU
INDEX
ABOUT US
Diagram Information and Instructions|Page 7520 >
< Diagram Information and Instructions|Page 7518
Cooper S Convertible (R57) L4-1.6L Turbo (N14) (2009)
Starting and Charging
Power and Ground Distribution
Fuse / Component Information
Diagrams / Diagram Information and Instructions
Page 7519
Page 2
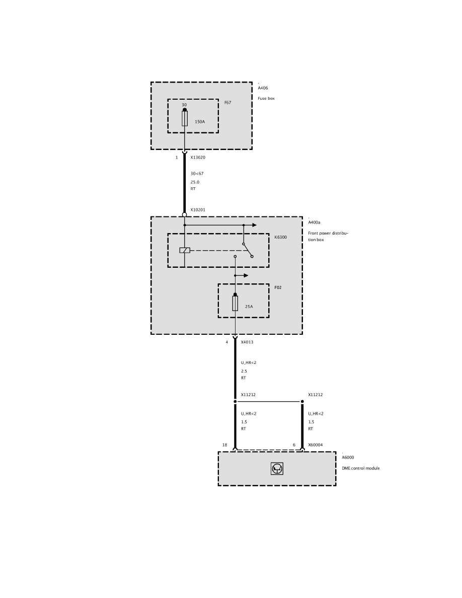
F02
Fuse F02 (Petrol Engine)
F03
Starting and Charging
Power and Ground Distribution
Fuse / Component Information
Diagrams / Diagram Information and Instructions
Page 7519
Diagram Information and Instructions|Page 7520 >
< Diagram Information and Instructions|Page 7518