Mini Workshop Service and Repair Manuals
HOME
FEATURES
MENU
INDEX
ABOUT US
Diagram Information and Instructions|Page 7571 >
< Diagram Information and Instructions|Page 7569
Cooper S Convertible (R57) L4-1.6L Turbo (N14) (2009)
Starting and Charging
Power and Ground Distribution
Fuse / Component Information
Diagrams / Diagram Information and Instructions
Page 7570
Page 53
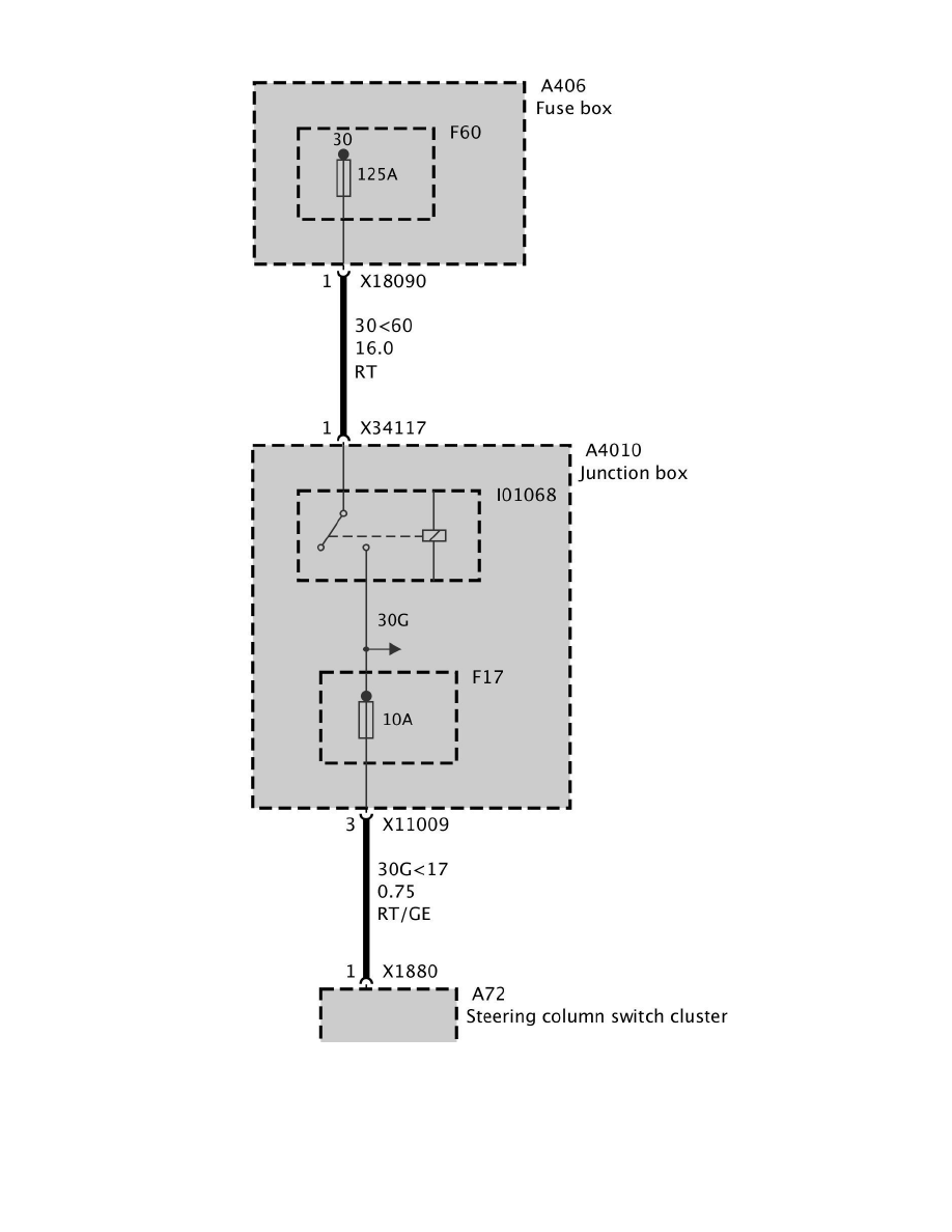
Fuse F18 (Up to 12/08)
Fuse F18 (Up to 12/08)
Starting and Charging
Power and Ground Distribution
Fuse / Component Information
Diagrams / Diagram Information and Instructions
Page 7570
Diagram Information and Instructions|Page 7571 >
< Diagram Information and Instructions|Page 7569