Mini Workshop Service and Repair Manuals
HOME
FEATURES
MENU
INDEX
ABOUT US
Diagram Information and Instructions|Page 7630 >
< Diagram Information and Instructions|Page 7628
Cooper S Convertible (R57) L4-1.6L Turbo (N14) (2009)
Starting and Charging
Power and Ground Distribution
Fuse / Component Information
Diagrams / Diagram Information and Instructions
Page 7629
Page 112
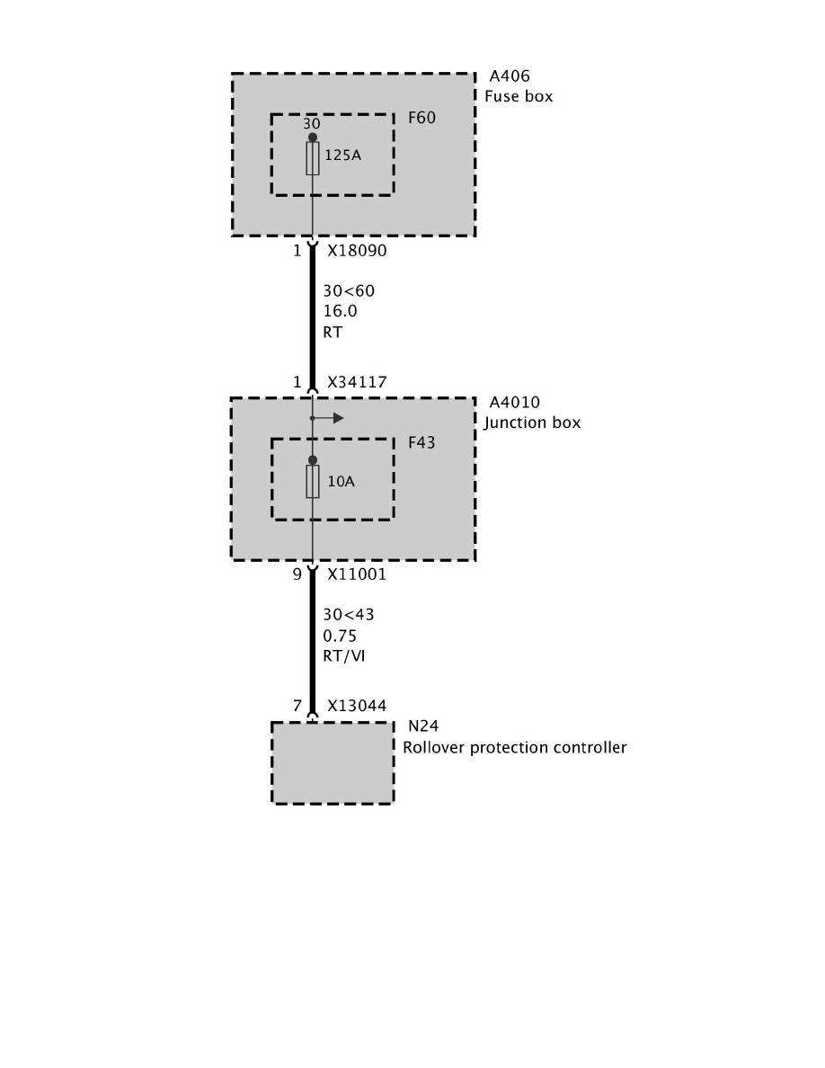
Fuse F44 (Up to 12/08)
Fuse F44 (Up to 12/08)
Starting and Charging
Power and Ground Distribution
Fuse / Component Information
Diagrams / Diagram Information and Instructions
Page 7629
Diagram Information and Instructions|Page 7630 >
< Diagram Information and Instructions|Page 7628