Mini Workshop Service and Repair Manuals
HOME
FEATURES
MENU
INDEX
ABOUT US
Diagram Information and Instructions|Page 7641 >
< Diagram Information and Instructions|Page 7639
Cooper S Convertible (R57) L4-1.6L Turbo (N14) (2009)
Starting and Charging
Power and Ground Distribution
Fuse / Component Information
Diagrams / Diagram Information and Instructions
Page 7640
Page 123
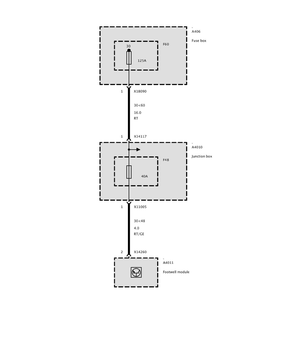
Fuse F48 (As of 12/08)
Fuse F48 (As of 12/08)
Starting and Charging
Power and Ground Distribution
Fuse / Component Information
Diagrams / Diagram Information and Instructions
Page 7640
Diagram Information and Instructions|Page 7641 >
< Diagram Information and Instructions|Page 7639