scion Workshop Repair Guides

Scion Workshop Service and Repair Manuals

Air Bag(s) Arming and Disarming|Service and Repair|Page 7629 > < Air Bag(s) Arming and Disarming|Service and Repair|Page 7627
Page 5
background image

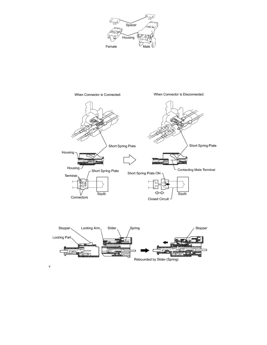
(1) Terminal twin-lock mechanism:

All connectors with a terminal twin-lock mechanism have a two-piece component consisting of a housing and a spacer. This design enables
the terminal to be locked securely by two locking devices (the retainer and the lance) to prevent terminals from coming out.

(2) Activation prevention mechanism:

All connectors with an activation prevention mechanism contain a short spring plate. When these connectors are disconnected, the short
spring plate creates a short circuit by automatically connecting the positive (+) and negative (-) terminals of the squib.

(3) Half connection prevention mechanism:

If the connector is not completely connected, the connector is disconnected by the spring force so that no continuity exists.

(4) Connector position assurance mechanism:

Only when the housing lock (white part) is completely engaged, the CPA (yellow part) slides, which completes the connector engagement.

Air Bag(s) Arming and Disarming|Service and Repair|Page 7629 > < Air Bag(s) Arming and Disarming|Service and Repair|Page 7627