volkswagen Workshop Repair Guides

Volkswagen Workshop Service and Repair Manuals

Electrical check for vehicles with automatic gearbox 09A > < Test table
5-speed automatic gearbox 09A self-diagnosis
Gearbox: Electrical check
Gearbox: Electrical check
 
W37-0010

Special tools and workshop equipment required

  • ◆ V.A.G 1526 A Hand multimeter
  • ◆ V.A.G 1594 A Adapter set
  • ◆ V.A.G 1598/18 Test box

Additional information required

  • ◆ Workshop manual Golf 1998 ▸, Bora 1999▸ 5-speed automatic gearbox 09A
  • ◆ Binder: "Current flow diagrams, Electrical fault finding and Fitting locations Golf 1998 ▸, Bora 1999▸"

Test requirements:

 
N37-0355
  • ● Battery voltage in order.
  • ● Vehicle voltage supply in order.
  • ● Fuses in main fuse box OK.
  • ● Fuses 7, 11, 13, 15 and 31 OK.
  • ● Check earth connections for gearbox:

→ The gearbox control unit (arrow) is located in the plenum chamber.

  • ‒ Check earth connections for corrosion and poor contact; repair if necessary.
 
N37-0139
  • ‒ Earth connection point is located under battery.
  • ‒ Check battery earth strap and earth strap between battery and gearbox.
  • ‒ Switch ignition off, release multi-pin connector and pull off control unit.
  • ‒ → Fit test box V.A.G 1598/18 onto multi-pin connector (1) and lock, in direction of arrow (2).

Using test box V.A.G 1598/18 the wiring can be checked according to current flow diagram.

  • ‒ Before connecting the test leads the correct measuring range on tester must be adjusted. Otherwise the electronic components can be destroyed !
  • ◆ Use the hand multimeter V.A.G 1526 with auxiliary cables from V.A.G 1594 for testing.
  • ◆ The specified values are valid for an ambient temperature from 0 °C...40 °C.
  • ◆ If the readings obtained differ from the specified values, determine fault on the basis of the current flow diagram.
  • ◆ If the readings obtained differ only slightly from the specified values, clean sockets and connectors of the testers and test leads and repeat test. Before replacing the particular components, test wiring and connections and, particularly if specified values are below 10 ω, repeat resistance measurement on component.
 
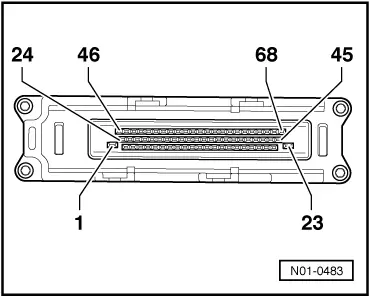
N01-0483

→ Socket assignment on control unit connector

Electrical check for vehicles with automatic gearbox 09A > < Test table