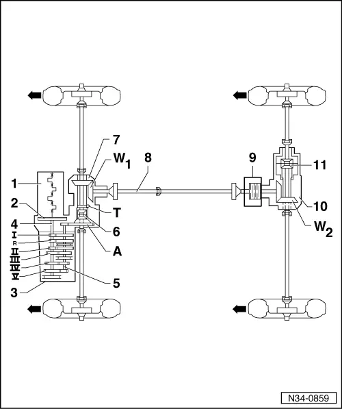
Golf Mk4
|

| 1 - | Engine |
| 2 - | Clutch |
| 3 - | Manual gearbox |
| 4 - | Input shaft |
| 5 - | Output shaft |
| 6 - | Differential |
| 7 - | Bevel box |
| 8 - | Propshaft |
| 9 - | Haldex coupling |
| 10 - | Rear final drive |
| 11 - | Differential |
|

| I - | 1st gear |
| II - | 2nd gear |
| III - | 3rd gear |
| IV - | 4th gear |
| V - | 5th gear |
| R - | Reverse gear |
| A - | Final drive |
| W1 - | Front bevel box |
| W2 - | Rear bevel box |
