Volkswagen Workshop Service and Repair Manuals
HOME
FEATURES
MENU
INDEX
ABOUT US
Additional information and assembly work for vehicles with air conditioner >
< Specified torques
Golf Mk4
Power unit
4-cylinder injection engine (1.4 l and 1.6 l engine)
Engine assy,cylinder block,crankcase / Removing and installing engine
Assembly mountings
Assembly mountings
Assembly mountings
Specified torques
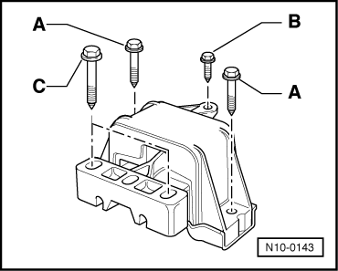
Engine assembly mountings
A
→ Remark
= 40 Nm +
1
/
4
turn (90°) further
B = 25 Nm
C = 100 Nm
1)
Replace stretch bolts
Gearbox assembly mounting
A
→ Remark
= 40 Nm +
1
/
4
turn (90°) further
B = 25 Nm
C = 100 Nm
2)
Stretch bolts, renew
Pendulum support
A = 50 Nm
B = 25 Nm
Power unit
4-cylinder injection engine (1.4 l and 1.6 l engine)
Engine assy,cylinder block,crankcase / Removing and installing engine
Assembly mountings
Additional information and assembly work for vehicles with air conditioner >
< Specified torques