Golf Mk5
|
|
|
|
|
|
|

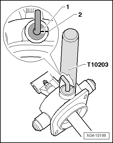
| 1 - | Sleeve |
| q | For selector shaft |
| q | Driving out → Fig. |
| q | Driving in → Fig. |
| 2 - | Selector shaft with selector shaft cover |
| q | Renew together |
| 3 - | Angled rod |
| q | For adjusting selector mechanism |
| q | Removing → Fig. |
| q | Driving in → Fig. |
| 4 - | Relay lever |
| q | Installation position → Fig. |
| q | From 05.07, plastic relay lever → Chapter |
| 5 - | Bearing bush |
| q | Not required for plastic relay lever |
| 6 - | Seal |
| q | Lever out with a screwdriver |
| q | Installing → Fig. |
| 7 - | Cap |
| q | For gearbox breather |
| 8 - | Gearbox selector lever |
| q | Install so that master spline aligns with selector shaft |
| q | Can be renewed with the selector mechanism installed |
| q | Installation position → Fig. |
| 9 - | Hexagon nut, 23 Nm |
| q | Always renew |
| 10 - | Securing clip |
| q | Always renew |
| q | Not required for plastic relay lever |
|
|
|
|
|
|
