Golf L4-1896cc 1.9L DSL Turbo (1Z) (1997)
How To Read Displayed Page of Wiring Diagram
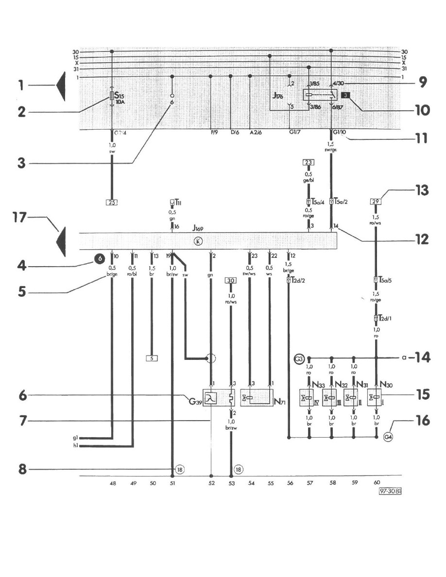
1
-
Arrow
Indicates wiring circuit is continued on the previous and/or next page.
2
-
Fuse designation
For example: S15 = Fuse number 15, 10 amps, in fuse/ relay panel.
