volkswagen Workshop Repair Guides

Volkswagen Workshop Service and Repair Manuals

Diagram Information and Instructions|Page 2742 > < Diagram Information and Instructions|Page 2740
Page 5
background image

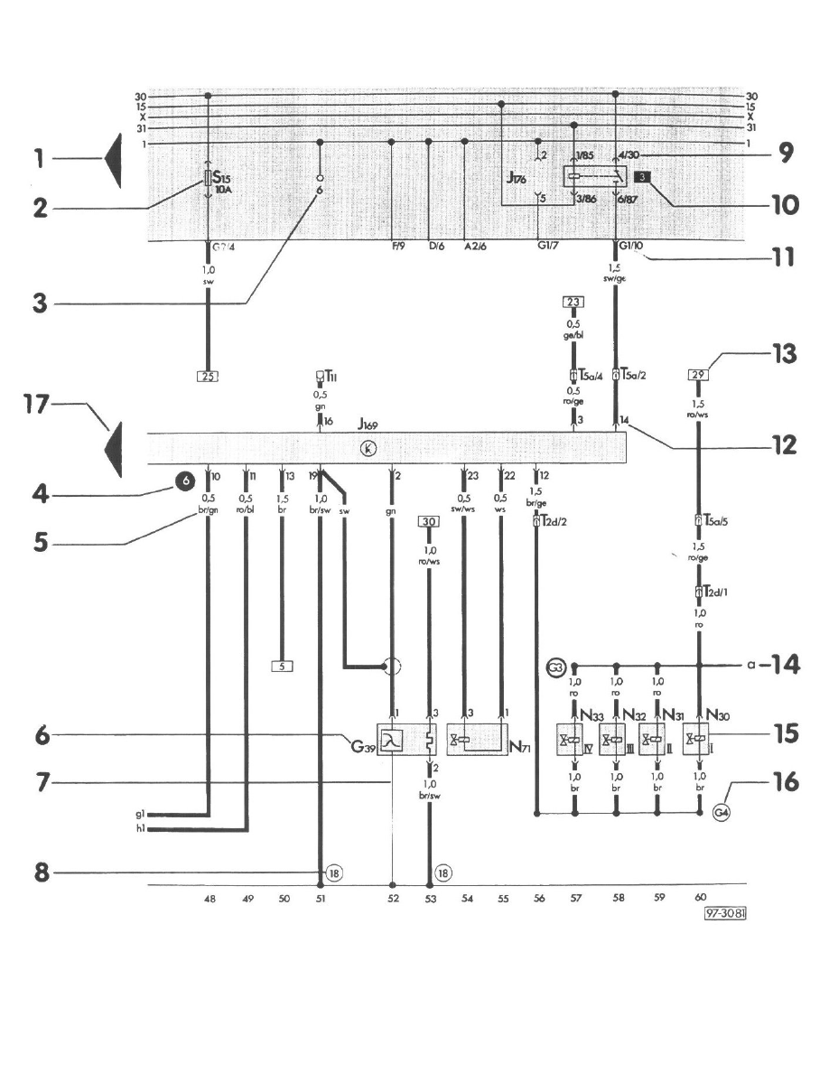
How To Read Displayed Page of Wiring Diagram

1

-

Arrow
Indicates wiring circuit is continued on the previous and/or next page.

2

-

Fuse designation
For example: S15 = Fuse number 15, 10 amps, in fuse/ relay panel.

Diagram Information and Instructions|Page 2742 > < Diagram Information and Instructions|Page 2740