Jetta L5-2.5L (CBTA) (2008)
-
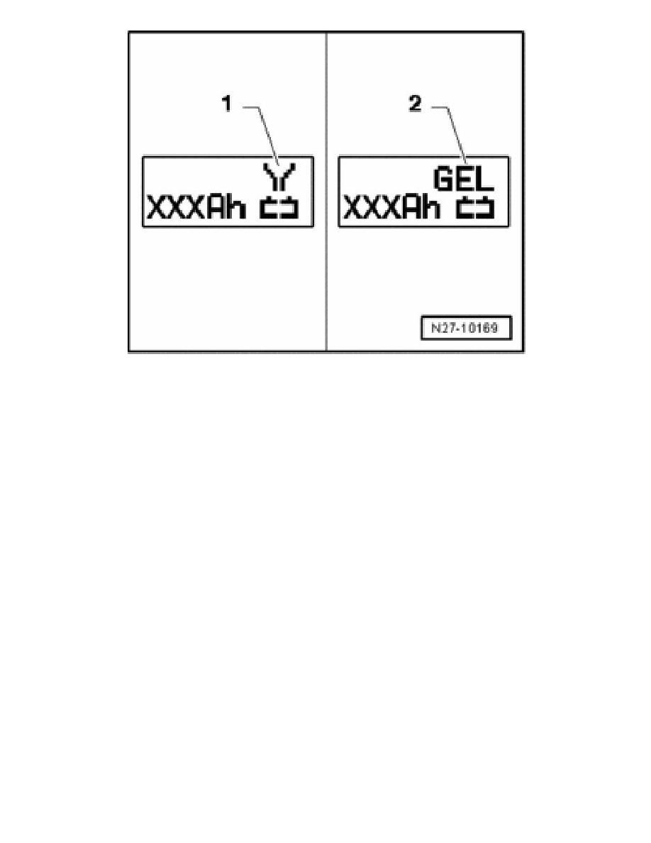
Using INFO, set the mode of operation that corresponds with the battery.
The symbol - 1 - for "standard charge of wet batteries" or the symbol - 2 - for "standard charge of Gel/Absorbent Glass Mat (AGM) batteries" is
indicated in the display.
-
Set the capacity (Ah) of the battery to be charged with the corresponding button "Up" arrowup or "Down" arrowdown.
-
Clamp the red charging clamp "+" to the positive battery terminal.
-
Clamp the black charging clamp "-" to the negative battery terminal.
The charger recognizes the nominal voltage of the connected battery (6 V, 12V, or 24 V) and begins the charging process automatically.
