Passat GLS Wagon V6 V6-2.8L (ATQ) (2001)
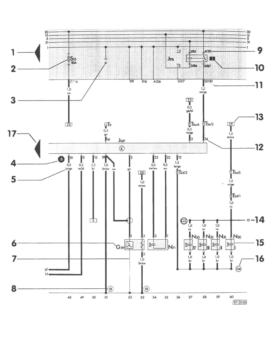
How To Read Displayed Page of Wiring Diagram
1
-
Arrow
Indicates wiring circuit is continued on the previous and/or next page.
2
-
Fuse designation
For example: S15 = Fuse number 15, 10 amps, in fuse/ relay panel.
