Passat Sedan L4-1781cc 1.8L DOHC Turbo (ATW) (2000)
How To Read Displayed Page of Wiring Diagram
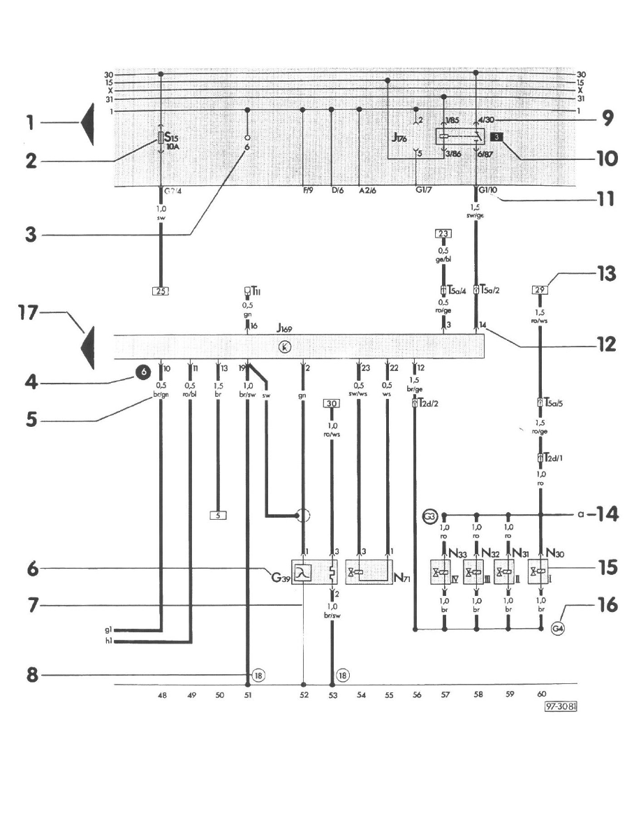
1
-
Arrow
Indicates wiring circuit is continued on the previous and/or next page.
2
-
Fuse designation
For example: S15 = Fuse number 15, 10 amps, in fuse/ relay panel.
