Passat Sedan L4-1781cc 1.8L Turbo (AEB) (1999)
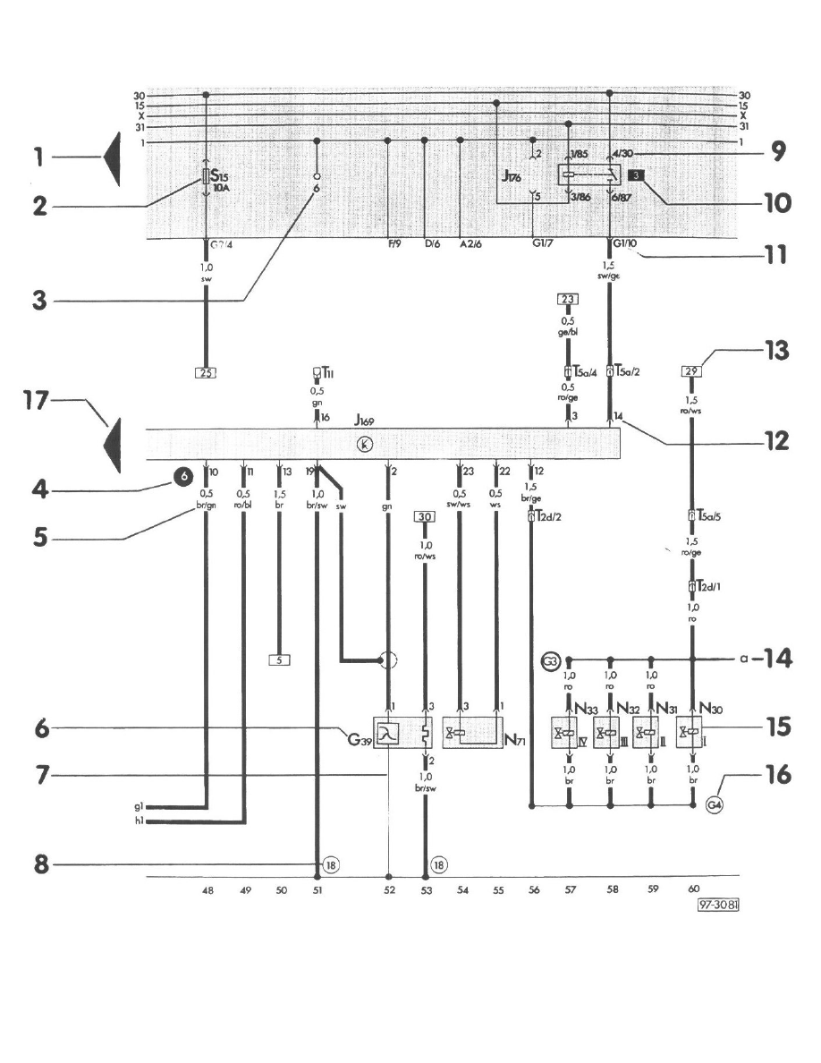
How To Read Displayed Page of Wiring Diagram
1
-
Arrow
Indicates wiring circuit is continued on the previous and/or next page.
2
-
Fuse designation
For example: S15 = Fuse number 15, 10 amps, in fuse/ relay panel.
