Volkswagen Workshop Service and Repair Manuals
HOME
FEATURES
MENU
INDEX
ABOUT US
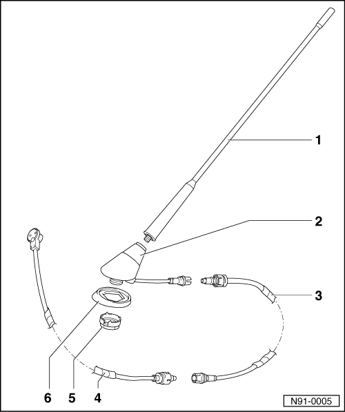
Roof aerial for radio operation -R11-, vehicles > 09.99 >
< Electronic anti-theft system for "BETA" and "GAMMA" radios 10.99 >
Polo Mk3
Vehicle electrics
Radio, Telephone, Navigation
Infotainment
Aerial systems
Radio, telephone, navigation
Aerial systems
Aerial systems
Vehicle electrics
Radio, Telephone, Navigation
Infotainment
Aerial systems
Roof aerial for radio operation -R11-, vehicles > 09.99 >
< Electronic anti-theft system for "BETA" and "GAMMA" radios 10.99 >