| –
| Install the door handle. |
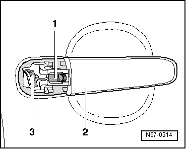
| –
| Pull the clip -1- through the plate cut and fit to the door handle -2-. |
| –
| Fit the right side support, on the door handle support. |
| –
| Tighten the screws to the support. |
| The door handle is fitted again to the lock cylinder quite audibly. |

Note | During the assembly, the door handle -2- must be pressed against the door panel. |
| –
| Installation is performed in the reverse removal sequence. |
| l
| Check the operation, because if the cable adjustment is not correct, the door may not open. |
|
|
|