A2
| Exploded view - hydraulic system |

| 1 - | Brake fluid reservoir |
| 2 - | Supply hose |
| 3 - | Clip |
| q | To remove pipe, pull out clip as far as limit stop |
| 4 - | Clutch master cylinder |
| q | Removing and installing → Chapter |
| 5 - | Nut |
| q | 28 Nm |
| q | Self-locking |
| q | Always renew |
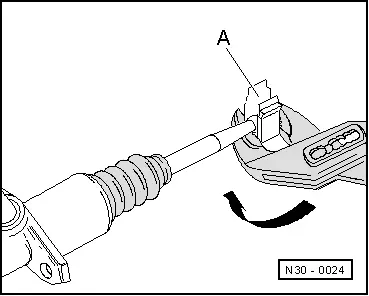
| 6 - | Retaining clip |
| q | Renew only when clutch master cylinder has been removed |
| q | Removing → Fig. |
| q | Pressing on → Fig. |
| 7 - | Clutch pedal |
| q | Removing and installing → Chapter |
| 8 - | Bolt |
| q | 28 Nm |
| q | 2x |
| 9 - | O-ring |
| q | Push onto pipe connection |
| q | Lubricate with brake fluid before installing |
| 10 - | Pipe/hose assembly |
| q | Disconnecting from clutch master cylinder and installing → Anchor |
| q | Allocate according to → Electronic parts catalogue |
| 11 - | Bracket |
| q | Secured on body |
| 12 - | Bolt |
| q | 23 Nm |
| 13 - | Clip |
| q | To remove pipe, pull out clip as far as limit stop |
| 14 - | Bleeder valve |
| q | Bleeding clutch system → Chapter |
| 15 - | Dust cap |
| 16 - | Clutch slave cylinder |
| q | Removing and installing → Chapter |
| q | After installing, adjust selector mechanism → Chapter |
| 17 - | Gearbox |
|
|
|
|
