audi Workshop Repair Guides

Audi Workshop Service and Repair Manuals

Self diagnosis, V.A.G Inspection Service|CAN bus > < Checking vehicle speed sender G68 with 3-pin connector
Checking gearbox speed senderG38 with 2-pin connector
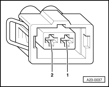
Checking gearbox speed sender -G38- with 2-pin connector
   
–  Press release tabs -arrows- on the sides to unplug electrical connector-4- and pull off upwards.
  A38-0054
–  Connect multimeter for resistance measurement between contacts on the 2-pin connector and the sockets on adapter cable, (68-pin) -V.A.G 1598/18A- (test box), as shown in the following table.
l  Specification: in each case less than 1.5 Ω.
  A23-0037
Connector
Contact
-V.A.G 1598/18A-
Socket
Connector
Contact
-V.A.G 1598/18A-
Socket
121266

  Note
t  If readout does not match specification, rectify open circuit in wiring according to current flow diagram and check connector for contact corrosion, moisture and leaks.
t  If readout obtained in this wiring check matches specification, gearbox speed sender -G38- must be renewed → Rep. Gr.38.
   

Self diagnosis, V.A.G Inspection Service|CAN bus > < Checking vehicle speed sender G68 with 3-pin connector