A4 Cabriolet Mk2
| Removing and installing backrest cover panel |

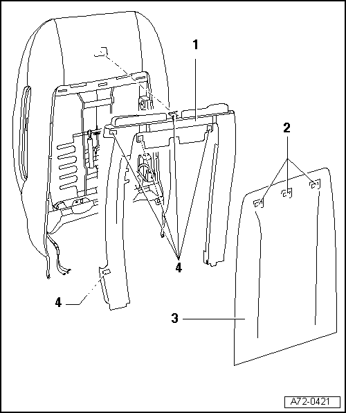
| 1 - | Backrest frame |
| 2 - | Wire clips (3x) |
| 3 - | Backrest cover panel |
| t | Removing |
| – | Prise out wire clips -2- (3x) at backrest cover panel -1-. |
| – | Lift off backrest cover panel -3-. |
| t | Installing |
| – | Install in reverse order of removal. |
| 4 - | Clips (5x) |
