A4 Mk3
| Renewing side panel trim |

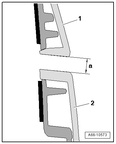
| 1 - | Trim for side panel |
| q | Removing: |
| – | Remove bolts underneath wheel housing liner. |
| – | Pull off fastener underneath wheel housing liner, heat bonding surface with hot-air blower and gradually pull off trim. |
| q | Installing: |
| – | Kink side sections of protective film (removal aids) so they can be reached when trim makes contact with side panel. |
| – | To install, match to exact contour of body and apply with correct gap width between side member trim and cover for door → Anchor. |
| – | Remove protective film from between side panel and trim by pulling it out via removal aids and gradually press trim on firmly by hand. |
| – | Tighten bolts in the sequence: centre, rear and front. |
| – | Press fastener into cover. |
| 2 - | Adhesive tape |
| q | Peel off protective film before mounting. |
| 3 - | Wheel housing liner |
| 4 - | Bolt |
| q | 2.5 Nm |
| 5 - | Trim for rear door |
| q | To remove, heat bonding surface with hot-air blower and pull off trim in stages. |
| q | To install, match to exact contour of body and apply in stages by pressing on firmly by hand. |
|
|
|
|
|
