| –
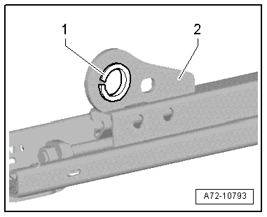
| When doing so, pay attention to bushes -1- in pivot points on lower seat pan frame -2-. |

Caution | t
| When separating or assembling upper and lower frames, take care not to damage bushes -1- inserted in all pivot points. |
| t
| The bushes cannot be renewed with the equipment available to workshops. |
| t
| The corresponding components must be renewed if the bushes are damaged. |
|

Note | If upper frame is renewed, wiring and electrical and electronic components indicated must be removed and installed in new upper frame. |
| –
| Separate upper and lower frame → Anchor. |
| –
| Remove retainer with seat adjustment control unit with memory function → Chapter and → Chapter. |
| –
| Remove seat height adjustment motor → Chapter. |
| –
| Remove seat rake adjustment motor → Chapter. |
| –
| Remove seat position sensor: |
| –
| Detach wiring harnesses and individual wires from upper seat pan frame. |
| –
| Install electrical and electronic components and wiring removed earlier in new upper frame. |
| Install in reverse order of removal. |

Note | If lower frame is renewed, seat position sensor must be removed and installed in new lower frame. |
| –
| Separate upper and lower frame → Anchor. |
| –
| Remove seat position sensor: |
| –
| Unplug electrical connector at seat longitudinal adjustment motor. |
| –
| Install electrical and electronic components and wiring removed earlier in new lower frame. |
| The seat pan is assembled in the reverse order of dismantling; note the following: |

WARNING | t
| Observe safety regulations for pyrotechnic components → Chapter. |
| t
| Before handling pyrotechnic components (e.g. plugging in the electrical connector) the mechanic must discharge static electricity by briefly touching the door striker plate, or similar. |
|

Note | Make sure electrical connectors are fitted correctly (as far as stop) and engage audibly. |

WARNING | The battery must be connected with the ignition switched on. If pyrotechnic components (e.g. airbag or belt tensioner) are inexpertly repaired, this may result in unwanted triggering after connecting the battery. There must not be anyone in the vehicle while you are connecting the battery. |
|

Note | If the airbag warning lamp -K75- indicates a fault following installation, you must interrogate, erase and then re-interrogate the event memory → Vehicle diagnostic tester. |
|
|
|