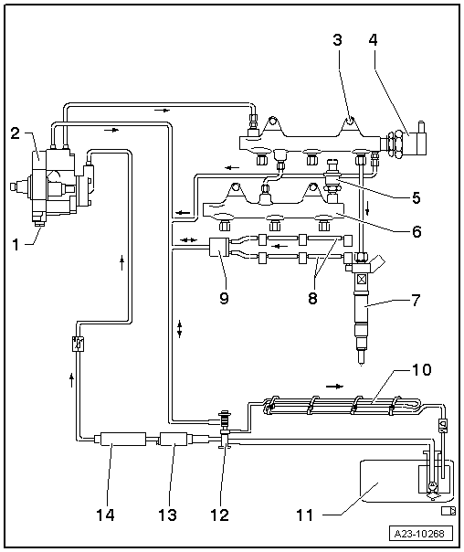
A4 Mk3
|

| 1 - | Fuel metering valve -N290- |
| q | Do not unscrew |
| 2 - | High-pressure fuel pump |
| q | With fuel metering valve -N290- |
| q | On vehicles with engine codes CAMA, CAMB, CCWA, CCWB, CGKA, CGKB and CCLA, a first fuel filling operation MUST be performed after the high-pressure pump has been renewed (the pump must NOT be allowed to run while it is still empty) → Chapter |
| q | On vehicles with engine codes CAMA, CAMB, CCWA, CCWB, CGKA, CGKB, and CCLA, the learnt values must be re-adapted after renewing the high-pressure pump or the fuel pressure regulating valve -N276-; see „Guided Functions“ in vehicle diagnostic tester |
| q | High-pressure pump - exploded view, engine codes CAMA, CAMB, CCWA, CCWB, CGKA, CGKB, CCLA → Chapter |
| q | Removing and installing, engine codes CAMA, CAMB, CCWA, CCWB, CGKA, CGKB, CCLA → Chapter |
| q | High-pressure pump - exploded view, engine code CAPA → Chapter |
| q | Removing and installing, engine code CAPA → Chapter |
| 3 - | Fuel rail |
| q | Cylinder bank 1 |
| 4 - | Fuel pressure regulating valve -N276- |
| q | On cylinder bank 1 |
| q | Cannot be re-installed |
| q | On vehicles with engine codes CAMA, CAMB, CCWA, CCWB, CGKA, CGKB, and CCLA, the learnt values must be re-adapted after renewing the high-pressure pump or the fuel pressure regulating valve -N276-; see „Guided Functions“ in vehicle diagnostic tester |
| q | Removing and installing → Chapter |
| 5 - | Fuel pressure sender -G247- |
| q | 30 Nm |
| q | On cylinder bank 2 |
| q | Removing and installing → Chapter |
| 6 - | Fuel rail |
| q | For cylinder bank 2 |
| 7 - | Injectors |
| q | Injectors 1 ... 6 |
| q | Removing and installing → Chapter |
| 8 - | Fuel return lines (from injectors) |
| q | The fuel return lines must not be dismantled; if necessary they must be renewed complete with pressure retention valve |
| q | After replacement, engine must be run at idling speed for approx. 2 minutes to bleed fuel system. Then check fuel return lines for leaks |
| 9 - | Pressure retention valve |
| q | The pressure retention valve maintains a residual pressure of approx. 10 bar in the fuel return lines. |
| q | This residual pressure is required for the control function of the piezo injectors |
| q | The pressure retention valve may only be renewed together with the fuel return lines |
| q | After replacement, engine must be run at idling speed for approx. 2 minutes to bleed fuel system |
| q | Checking pressure retention valve → Chapter |
| 10 - | Fuel cooler |
| q | Fitted on underbody |
| 11 - | Fuel tank |
| q | With fuel system pressurisation pump -G6- |
| 12 - | Preheating valve |
| 13 - | Supplementary fuel pump -V393- |
| q | Only fitted on vehicles with engine codes CAMA, CAMB, CCWA, CCWB, CGKA, CGKB, CCLA |
| 14 - | Fuel filter |
| q | Fuel filter - exploded view → Rep. gr.20 |
| q | Renewing fuel filter → Rep. gr.20 |

WARNING
Caution