audi Workshop Repair Guides

Audi Workshop Service and Repair Manuals

Removing and installing steering column > < Exploded view of steering column
Removing and installing intermediate steering shaft
Removing and installing intermediate steering shaft
Special tools and workshop equipment required
   
t  Torque wrench -V.A.G 1331-
Removing
–  Turn wheels to straight ahead position.
–  Move steering wheel downwards and rearwards as far as possible, using the full range of the steering column adjuster.
–  Turn steering wheel to centre position (wheels in straight-ahead position).
–  Move driver's seat back as far as possible.
  W00-0427
–  Remove bolt -2- and detach intermediate steering shaft -3- from steering column -1-.
–  Raise vehicle on lifting platform.
  A48-10179
–  Remove rear noise insulation -arrow-.
  A48-10473
–  Remove bolt -arrow-.
–  Detach intermediate steering shaft -1- from steering box -2-.
  WARNING
Risk of burns from the exhaust system depending on the type of engine.
  A48-10367
–  Detach sealing boot from body at lugs -arrows-.
–  Remove intermediate steering shaft towards passenger compartment.
Installing
Installation is carried out in the reverse sequence. Note the following points:
–  Always clean threaded hole for bolt (using a thread tap or similar).
Tightening torques → Chapter
–  Install intermediate steering shaft from passenger compartment end.
  A48-10478
–  Push intermediate steering shaft -3- onto steering column -1- as far as stop and tighten bolt -2-.
  A48-10179
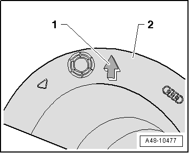
–  Insert sealing boot -2- as far as possible. Make sure arrow -1- is pointing vertically upwards.
  A48-10477
–  Pull sealing boot -1- through opening.
–  Taking care to keep it straight, attach sealing boot -1- fully onto collar -2-.
–  Then check mark on passenger compartment side to verify that sealing boot is installed in correct position. If necessary, unfasten sealing boot and turn it to correct installation position.
  A48-10479
–  Then push intermediate steering shaft -1- onto steering box -2- as far as stop and tighten bolt -arrow-.
Remaining installation steps are carried out in reverse sequence.
  A48-10367

Removing and installing steering column > < Exploded view of steering column