A4 Mk3
| Connectors |
| Aerial amplifier 3 -R112- (radio CAN bus) |

| 1 - | Connection for window aerials |
| 2 - | Not used |
| 3 - | Connection AM/FM1 (yellow) to radio -R- |
| 4 - | Connection FM2 (white) to radio -R- |
| 5 - | Connection FZV (remote locking) (grey) to convenience system central control unit -J393- |
| 6 - | Connection for window aerials |
| Aerial amplifier 3 -R112- (MMI up to week 44/08) |

| 1 - | Connection for window aerials |
| 2 - | Connection TV1 (brown) to TV tuner -R78- |
| 3 - | Connection ZF (intermediate frequency) (yellow) from radio -R- |
| 4 - | Connection FM3 (purple) from aerial amplifier 2 -R111- |
| 5 - | Connection HF (high frequency) (white) to radio -R- |
| 6 - | Connection TV2 (green) to TV tuner -R78- |
| 7 - | Connection for window aerials |
| 8 - | Connection FZV (remote locking) (grey) to convenience system central control unit -J393- |
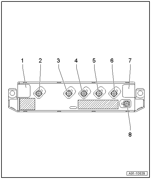
| Aerial amplifier 3 -R112- (MMI from week 45/08 onwards) |

| 1 - | Connection for window aerials |
| 2 - | Connection TV1 (brown) to TV tuner -R78- |
| 3 - | Connection AM/FM1 (yellow) to radio -R- |
| 4 - | Not used |
| 5 - | Connection FM2 (white) to radio -R- |
| 6 - | Connection TV2 (green) to TV tuner -R78- |
| 7 - | Connection for window aerials |
| 8 - | Connection FZV (remote locking) (grey) to convenience system central control unit -J393- |
| Aerial amplifier 2 -R111- (up to week 44/08) |

| 1 - | Connection for window aerials |
| 2 - | Connection DAB (black) to radio -R- / digital radio -R147- (Europe) |
| - Connection VICS (black) to navigation system with CD drive control unit -J401- (Japan) |
| 3 - | Connection FM3 (purple) to aerial amplifier 3 -R112- (MMI) |
| 4 - | Connection TV3 (green) to TV tuner -R78- (MMI) |
| Aerial amplifier 2 -R111- (from week 45/08 onwards) |

| 1 - | Connection for window aerials |
| 2 - | Connection DAB (black) to radio -R- |
| 3 - | Not used |
| 4 - | Connection TV3 (green) to TV tuner -R78- |
