Audi Workshop Service and Repair Manuals
HOME
FEATURES
MENU
INDEX
ABOUT US
Removing and installing telephone transmitter and receiver unitR36 >
< Removing and installing telephone bracketR126
A4 Mk3
Vehicle electrics
Communication / Infotainment
Telephone system
Removing and installing telephone bracketR126 (mobile telephone retainer)
Removing and installing telephone bracketR126 (mobile telephone retainer)
Removing and installing telephone bracket -R126- (mobile telephone retainer)
–
Switch off all electrical equipment.
–
Remove ignition key.
Removing
–
Remove centre console storage compartment
→ General body repairs, interior; Rep. gr.68
.
–
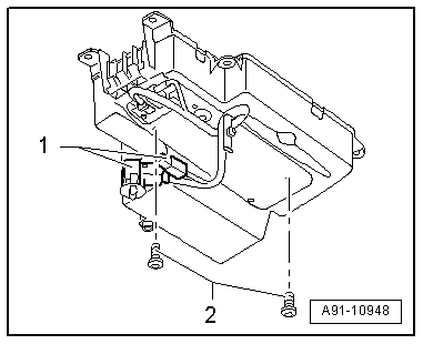
Release and unplug connector
-1-
.
–
Unscrew bolts
-2-
on reverse side.
–
Press telephone bracket -R126- upwards out of storage compartment.
Installing
–
Install in reverse sequence of removal.
Tightening torques
→ Chapter
Vehicle electrics
Communication / Infotainment
Telephone system
Removing and installing telephone bracketR126 (mobile telephone retainer)
Removing and installing telephone transmitter and receiver unitR36 >
< Removing and installing telephone bracketR126