Audi Workshop Service and Repair Manuals
HOME
FEATURES
MENU
INDEX
ABOUT US
Removing and installing telephone transmitter and receiver unitR36 >
< Connectors for Bluetooth hands-free system (MMI from week 45/08 onwards)
A4 Mk3
Vehicle electrics
Communication / Infotainment
Telephone system (Japan)
Removing and installing connector cable (mobile telephone retainer)
Removing and installing connector cable (mobile telephone retainer)
Removing and installing connector cable (mobile telephone retainer)
–
Switch off all electrical equipment.
–
Remove ignition key.
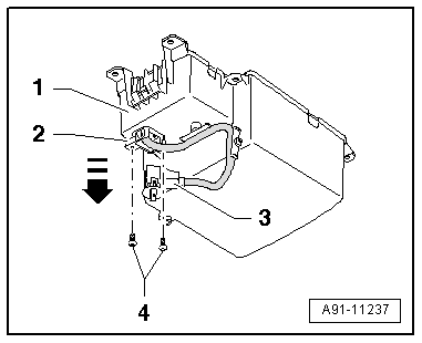
Removing
–
Remove centre console storage compartment
→ General body repairs, interior; Rep. gr.68
.
–
Release and unplug connector
-3-
in storage compartment
-1-
.
–
Unscrew bolts
-4-
on reverse side.
–
Press connector cable
-2-
downwards out of storage compartment
-1-
in direction of
-arrow-
.
Installing
–
Install in reverse sequence of removal.
Tightening torques
→ Chapter
Vehicle electrics
Communication / Infotainment
Telephone system (Japan)
Removing and installing connector cable (mobile telephone retainer)
Removing and installing telephone transmitter and receiver unitR36 >
< Connectors for Bluetooth hands-free system (MMI from week 45/08 onwards)