audi Workshop Repair Guides

Audi Workshop Service and Repair Manuals

Connectors for mobile phone pre-installation (CAN up to model year 2008) > < Microphone unit in front roof moduleR164 (up to week 44/08 onwards)
Microphone unit in front roof moduleR164 (from week 45/08 onwards)
Microphone unit in front roof module -R164- (from week 45/08 onwards)
One of the microphones (internal microphone -R74-) is connected directly to the digital sound package control unit -J525-. The other microphones are connected to the control unit 1 for information electronics -J794-.
   
Microphone unit in front roof module -R164-
1 - Microphone (blue) to control unit 1 for information electronics -J794-
2 - Interior monitor send and receive module 1 -G303-
3 - Microphone (black) to control unit 1 for information electronics -J794-
4 - Internal microphone -R74- (black) to digital sound package control unit -J525-
5 - Multi-pin connector, 6-pin (T6c)
  A91-10479
Pin assignment
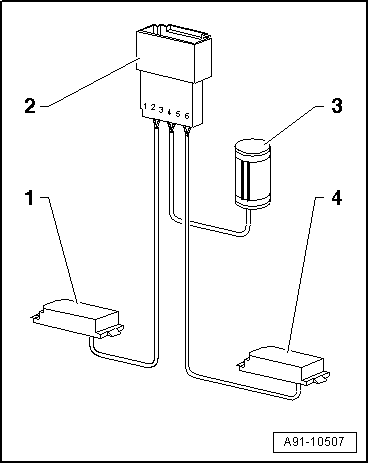
Left-hand drive vehicles:
1 - Front left microphone -R140- (black)
2 - 6-pin connector (T6c), pins 1-2: front left microphone -R140- (black), pins 3-4: internal microphone -R74- (black), pins 5-6: front right microphone -R141- (blue)
3 - Internal microphone -R74- (black)
4 - Front right microphone -R141- (blue)
Right-hand drive vehicles:
1 - Front right microphone -R141- (blue)
2 - 6-pin connector (T6c), pins 1-2: front right microphone -R141- (blue), pins 3-4: internal microphone -R74- (black), pins 5-6: front left microphone -R140- (black)
3 - Internal microphone -R74- (black)
4 - Front left microphone -R140- (black)
Removing and installing microphone unit in front roof module -R164- → Chapter.
  A91-10507

Connectors for mobile phone pre-installation (CAN up to model year 2008) > < Microphone unit in front roof moduleR164 (up to week 44/08 onwards)