audi Workshop Repair Guides

Audi Workshop Service and Repair Manuals

Microphone unit in front roof moduleR164 (from week 45/08 onwards) > < Microphone unit in front roof moduleR164 - overview
Microphone unit in front roof moduleR164 (up to week 44/08 onwards)
Microphone unit in front roof module -R164- (up to week 44/08 onwards)
One microphone (telephone microphone -R38-) is connected directly to the telephone transmitter and receiver unit -R36-. The other microphones are connected to the digital sound package control unit -J525- (from standard MMI onwards).
   
Microphone unit in front roof module -R164-
1 - Microphone (blue) for telephone transmitter and receiver unit -R36- (left-hand drive) and digital sound package control unit -J525- (right-hand drive)
2 - Interior monitor send and receive module 1 -G303-
3 - Microphone (black) for digital sound package control unit -J525- (left-hand drive) and telephone transmitter and receiver unit -R36- (right-hand drive)
4 - Internal microphone -R74- (black) for digital sound package control unit -J525- (from standard sound system onwards)
5 - Multi-pin connector, 6-pin (T6c)
  A91-10479
Pin assignment
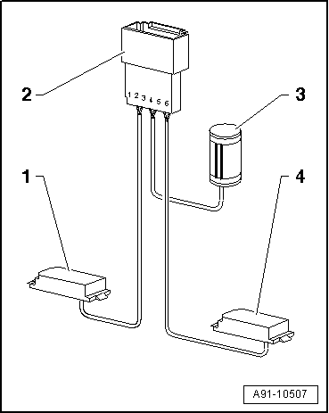
Left-hand drive vehicles:
1 - Telephone microphone -R38- (black)
2 - 6-pin connector (T6c), pins 1-2: telephone microphone -R38- (black), pins 3-4: internal microphone -R74- (black), pins 5-6: voice command microphone -R206- (blue)
3 - Internal microphone -R74- (black)
4 - Voice command microphone -R206- (blue)
Right-hand drive vehicles:
1 - Voice command microphone -R206- (blue)
2 - 6-pin connector (T6c), pins 1-2: voice command microphone -R206- (blue), pins 3-4: internal microphone -R74- (black), pins 5-6: telephone microphone -R38- (black)
3 - Internal microphone -R74- (black)
4 - Telephone microphone -R38- (black)
Removing and installing microphone unit in front roof module -R164- → Chapter.
  A91-10507

Microphone unit in front roof moduleR164 (from week 45/08 onwards) > < Microphone unit in front roof moduleR164 - overview